EasyManua.ls Logo

Astrid UPS HALLEY/E Series - Spare Parts List; Introduction to Spare Parts Levels

Astrid UPS HALLEY/E Series
56 pages
Print Icon
To Next Page IconTo Next Page
To Next Page IconTo Next Page
To Previous Page IconTo Previous Page
To Previous Page IconTo Previous Page
Loading...
OM226142 rev C
49
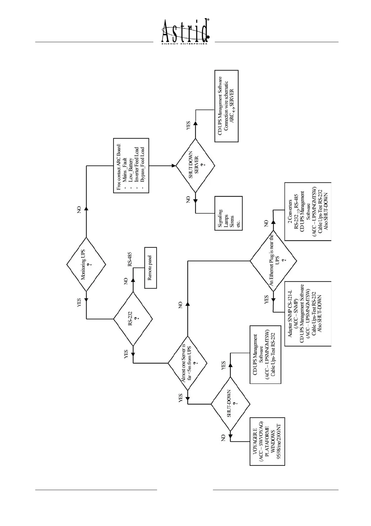
6.21 SELECTION OF THE UPS-USER INTERFACE

Table of Contents

Related product manuals