EasyManua.ls Logo

AuCom MVE series - 6 Installation; Lifting and Moving

Default Icon
82 pages
Print Icon
To Next Page IconTo Next Page
To Next Page IconTo Next Page
To Previous Page IconTo Previous Page
To Previous Page IconTo Previous Page
Loading...
INSTALLATION
12 | MVE User Manual (710-17074-00G)
6. Installation
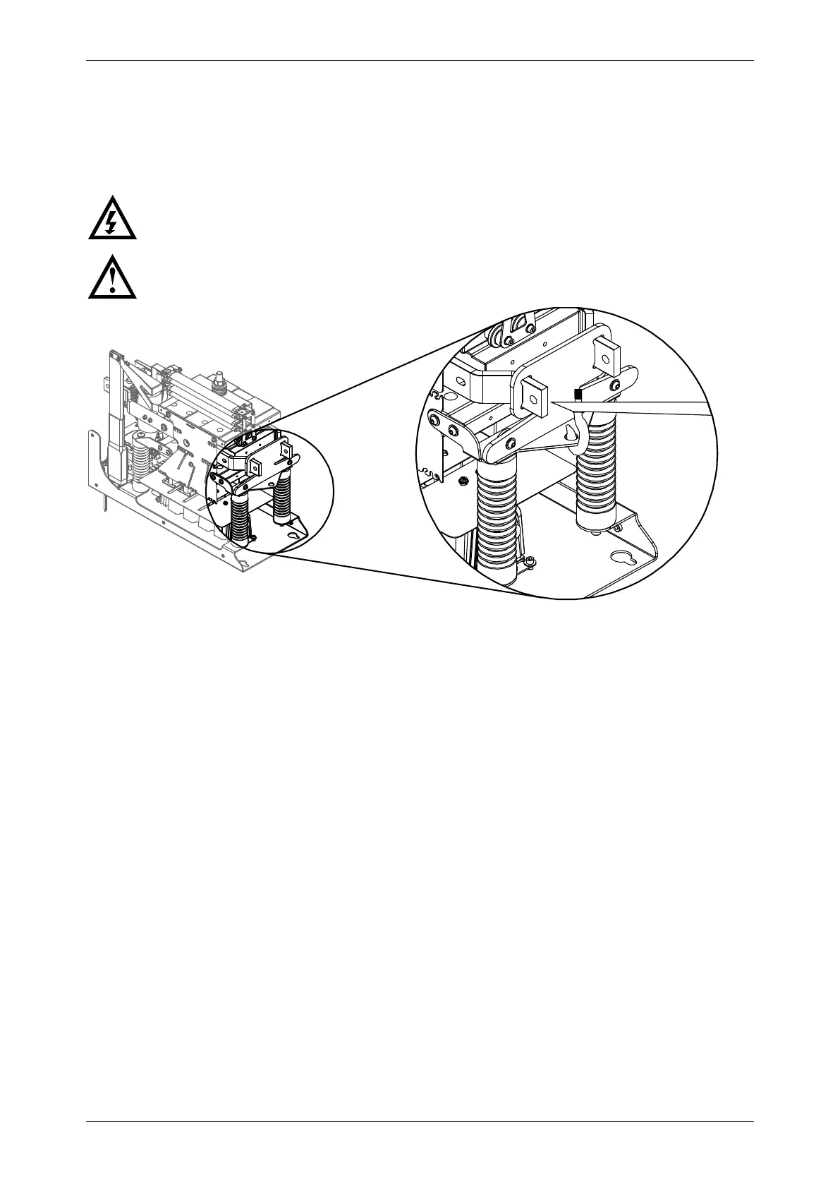
6.1 Lifting and Moving
Use a lifting hook to lift each phase arm.
WARNING
MVE phase arms are heavy (>30 kg). Do not attempt to lift by hand.
CAUTION
To avoid damage, only use the lifting eye.
19726.A