EasyManua.ls Logo

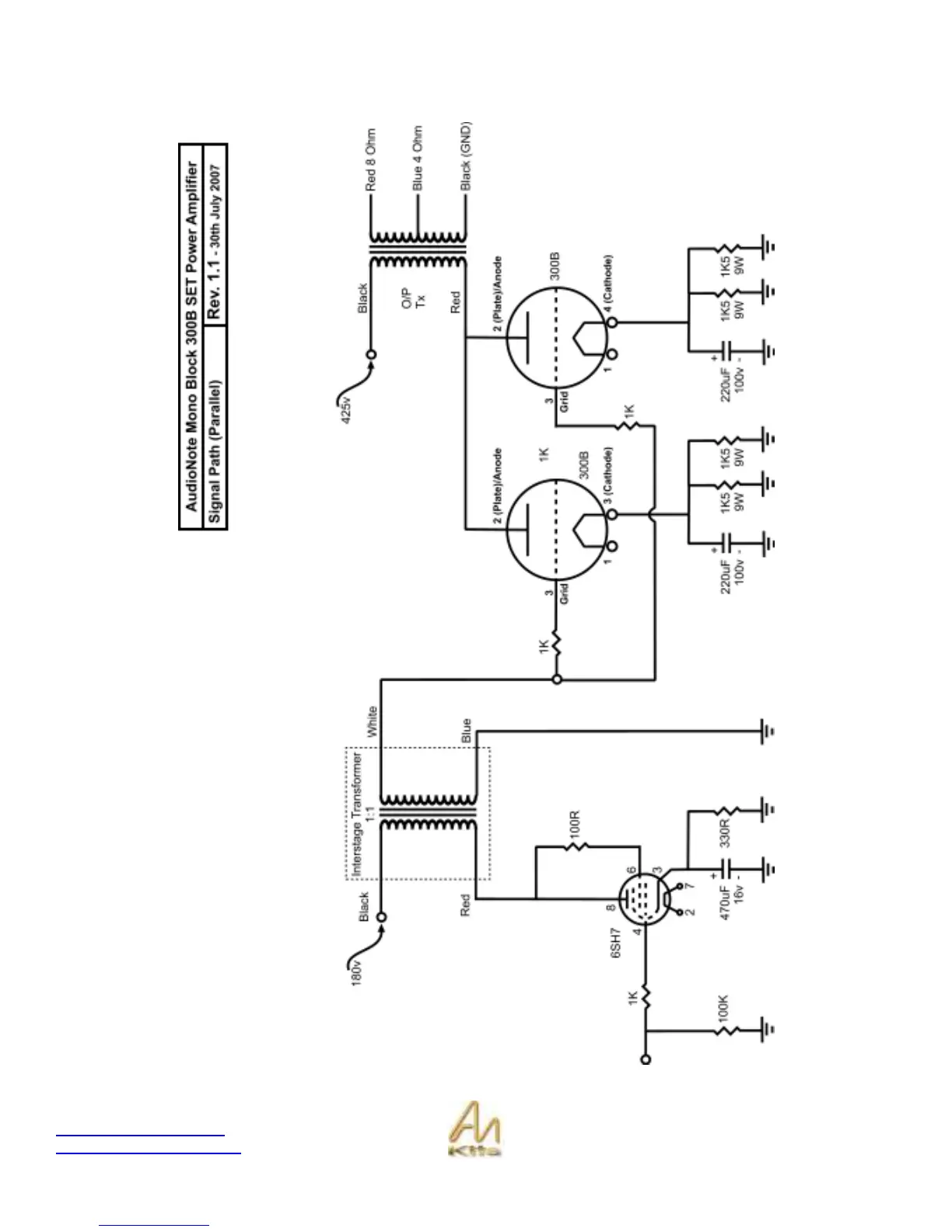
Audio Note Mono Block 300b/2A3 - Signal Path Schematic (Parallel 300 B)

Audio Note Mono Block 300b/2A3
70 pages
Print Icon
To Previous Page IconTo Previous Page
To Previous Page IconTo Previous Page
Loading...
Copyright © 2007, 2008 AudioNote Kits
www.AudioNoteKits.com
audionotekits@rogers.com
Page 70
Signal Path Schematic (Parallel 300B)

Table of Contents

Related product manuals