EasyManua.ls Logo

Axminster AW10BSB2 - Wiring Diagram

Axminster AW10BSB2
48 pages
Print Icon
To Next Page IconTo Next Page
To Next Page IconTo Next Page
To Previous Page IconTo Previous Page
To Previous Page IconTo Previous Page
Loading...
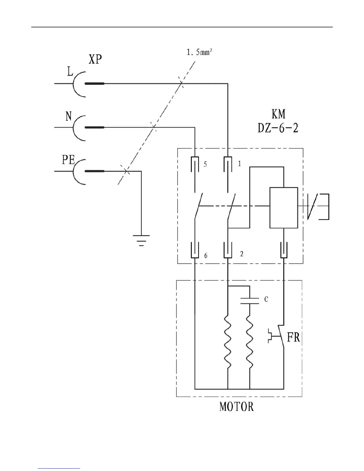
Wiring Diagram
37

Related product manuals