EasyManua.ls Logo

Benelli ZAFFERAN 250 - Lubricating system diagram

Benelli ZAFFERAN 250
187 pages
Print Icon
To Next Page IconTo Next Page
To Next Page IconTo Next Page
To Previous Page IconTo Previous Page
To Previous Page IconTo Previous Page
Loading...
85
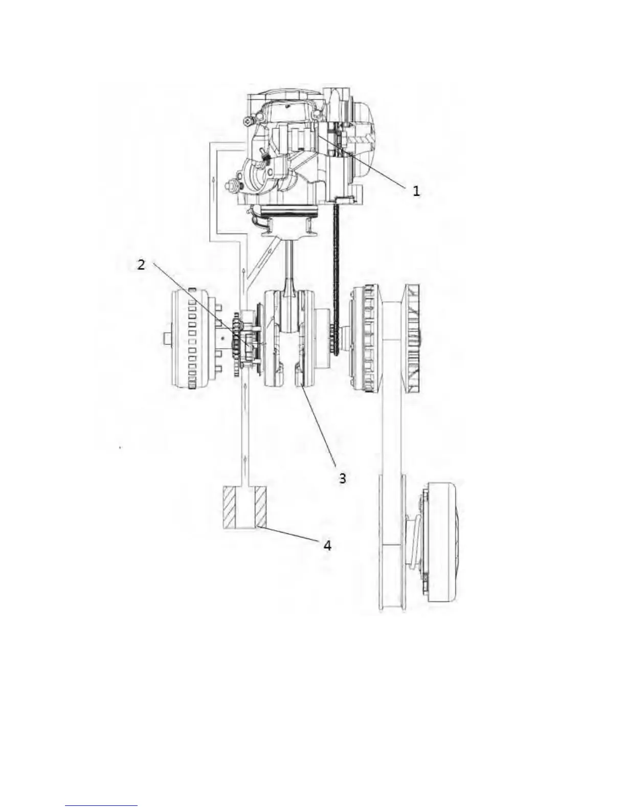
Lubricating system diagram
1 camshaft 2 oil pump 3 crank 4 fuel filter

Table of Contents

Related product manuals