EasyManua.ls Logo

Benelli ZAFFERAN 250 - Front Suspension

Benelli ZAFFERAN 250
187 pages
Print Icon
To Next Page IconTo Next Page
To Next Page IconTo Next Page
To Previous Page IconTo Previous Page
To Previous Page IconTo Previous Page
Loading...
71
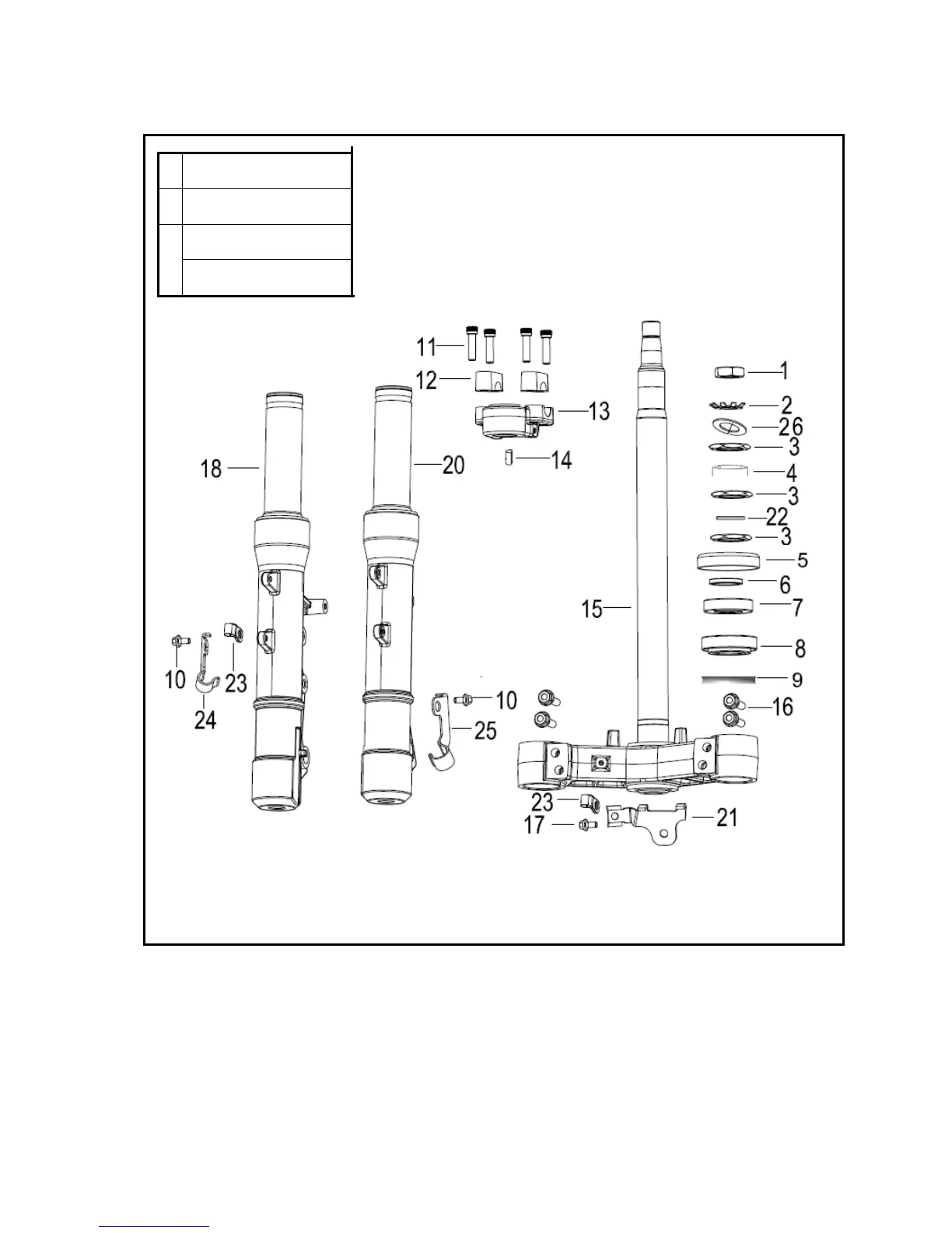
Front Suspension
A
Installation torque of nut
11: 22-29N·m
B
Installation torque of nut
16: 22-29N·m
L
Upper steel ball
number: 16
Lower steel ball
number: 16
1.) Nut 2.) Lock washer 3.) Nut 4.) Lock washer 5.) Dust seal 6.) Bushing 7.) Bearing 8.) Tapered
roller bearing 9.) Dust seal 10.) Bolt M6×12 11.) Socket head cap screw M8×30 12.) Upper
handlebar clamp 13.) Lower handlebar clamp 14.) Key 15.) Steering stem 16.) Bolt M8×35 17.)
Bolt M5×10 18.) Front right fork assy. 19.) Socket head cap screw M6×25 20.) Front left fork assy.
21.) Three-way front brake hose clamp 22.) Rubber gasket 23.) Clamp 24.) Right brake hose
clamp 25.) Left brake hose clamp 26.) Washer

Table of Contents

Related product manuals