EasyManua.ls Logo

Bentone B40 - Electrical Equipment; LAL 2.25 Wiring Diagram

Bentone B40
48 pages
Print Icon
To Next Page IconTo Next Page
To Next Page IconTo Next Page
To Previous Page IconTo Previous Page
To Previous Page IconTo Previous Page
Loading...
33
Bentone B 30/B 40
6. Electrical equipment
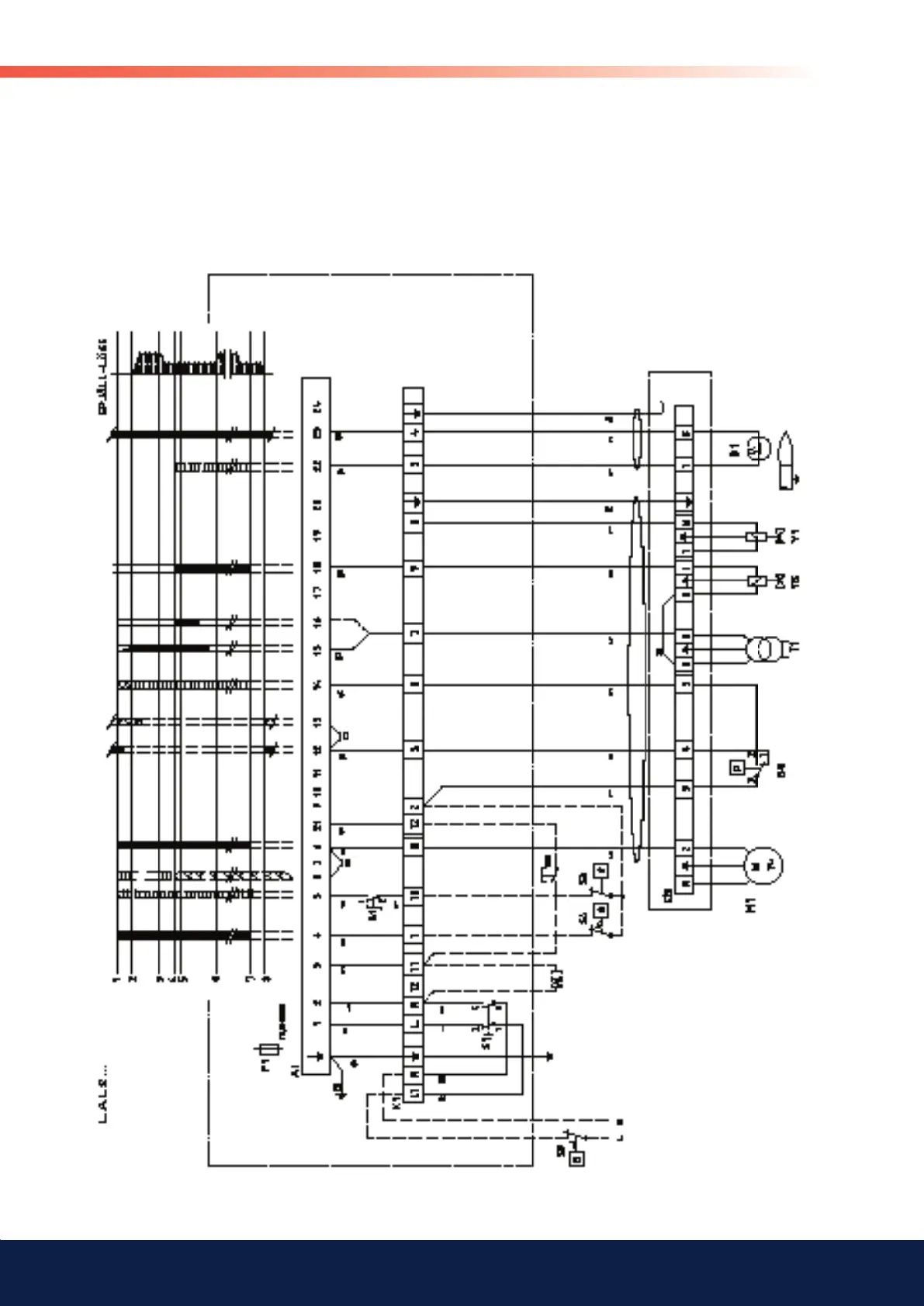
Wiring diagram LAL 2.25...

Related product manuals