EasyManua.ls Logo

Bosch FCS-320-TP2 - Page 35

Bosch FCS-320-TP2
134 pages
Print Icon
To Next Page IconTo Next Page
To Next Page IconTo Next Page
To Previous Page IconTo Previous Page
To Previous Page IconTo Previous Page
Loading...
Aspirating Smoke Detector Planning | en 35
Bosch Sicherheitssysteme GmbH Operation Guide 2018.04 | 2.0 | F.01U.130.926
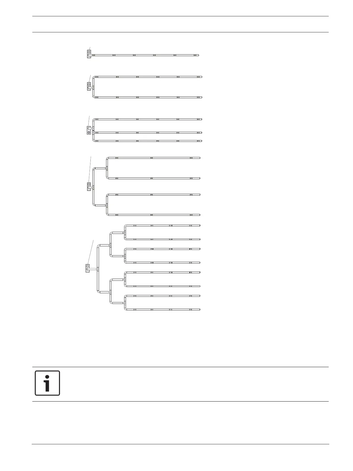
I
FAS / FCS
FAS / FCS
FAS / FCS
U
U/U
FAS / FCS
M
FAS / FCS
4U
Pipe configurations
I I-pipe system
U U-pipe system
M M-pipe system
U/U Double U-pipe system
4U Quadruple U-pipe system
Change of direction
Elbows and bends in the pipe system increase flow resistance. Therefore, they should only be
used where they cannot be avoided for structural engineering reasons. Light change of
direction (e.g. with 90 ° pipe bends or air sampling hose) are already approved as part of the
project according to EN 54-20 or ISO 7240-20 and need not be considered further.
Notice!
It is preferable to use pipe bends rather than pipe elbows.
The detection time will be influenced significantly by too high a number of changes of
direction.
Special cases
If the pipe system does not correspond to the planning guidelines described here owing to
structural circumstances, it must be calculated separately for the case in question on request.
Testing

Table of Contents

Related product manuals