EasyManua.ls Logo

Bosch MIC-7522 - Page 22

Bosch MIC-7522
70 pages
Print Icon
To Next Page IconTo Next Page
To Next Page IconTo Next Page
To Previous Page IconTo Previous Page
To Previous Page IconTo Previous Page
Loading...
22 en | Mounting MIC IP ultra 7100i MIC IP starlight 7100i
2019-12 | 1.2 | Installation Manual Bosch Security Systems
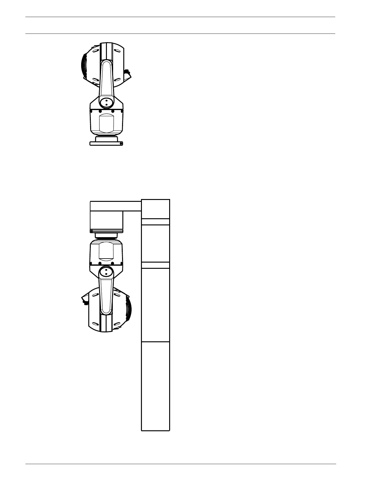
Figure5.5: MIC camera with camera head inverted
Note: It is not necessary to remove the section for the illuminator on the sunshield because
the illuminator is attached to the opposite side of the camera visor.
Seal the mount so that moisture or water cannot collect and stay in the bottom of the MIC
camera.
The figure that follows shows the camera installed in inverted orientation on a pole.
Figure5.6: MIC camera mounted in inverted orientation (on pole)

Related product manuals