EasyManua.ls Logo

Bowflex ULTIMATE - Workout Programs Overview; Conditioning and General Fitness Programs

Bowflex ULTIMATE
23 pages
Print Icon
To Next Page IconTo Next Page
To Next Page IconTo Next Page
To Previous Page IconTo Previous Page
To Previous Page IconTo Previous Page
Loading...
Assembling Your BOWFLEX Ultimate Lat Assembly
15
Figure I
50
54
57
19
20
40
54
17
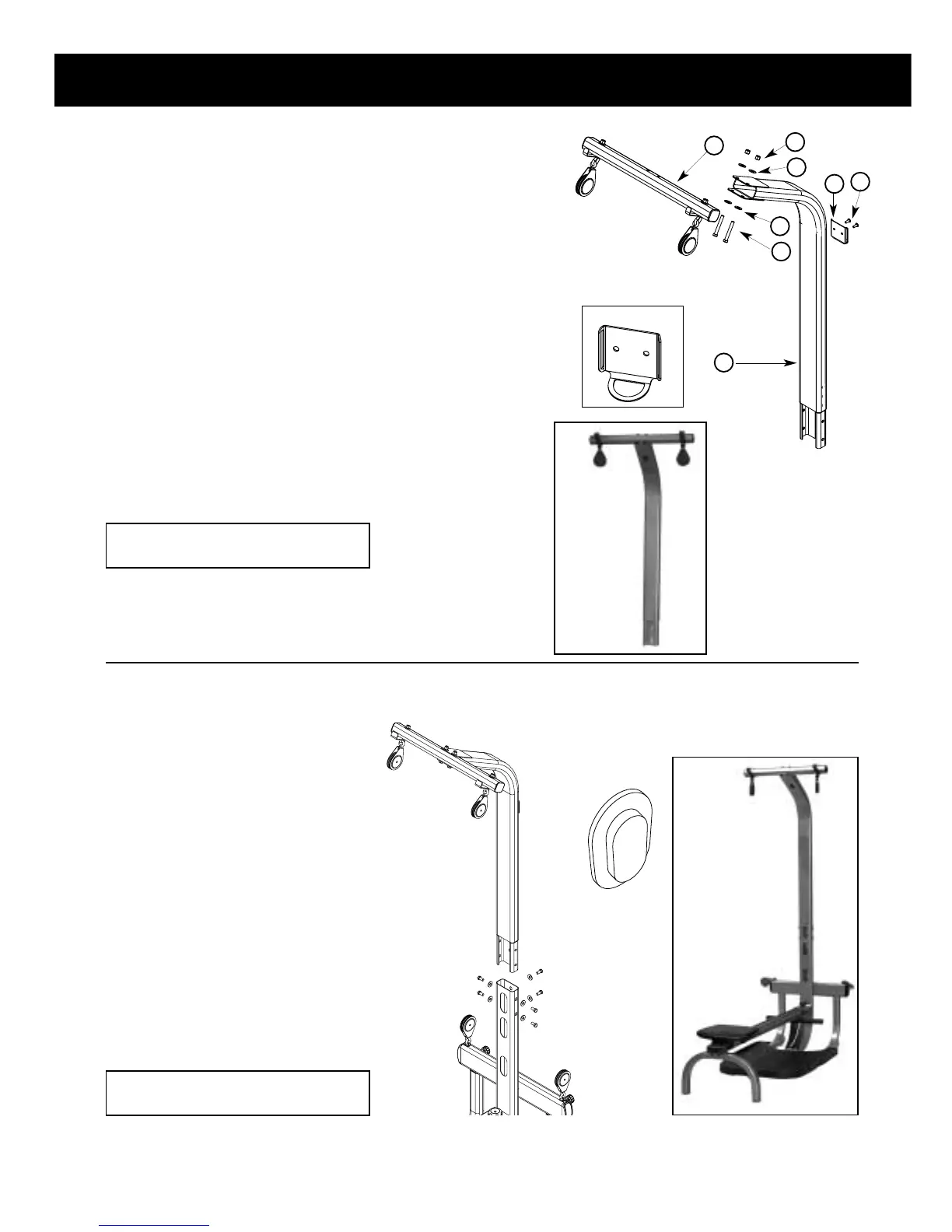
Step 1: LAT TOWER ASSEMBLY
Locate the following parts for this step:
Lat cross bar w/ pulleys
(Item #17)
Upper lat tower (Item #19)
Two (2) 3/8"X2-3/4" bolts (Item #50)
Four (4) 3/8" washers (Item #54)
Two (2) 3/8" nylon lock nuts (Item #57)
Strap hook (Item #20)
Two (2) 1/4X5/8 phillips head screws (Item #40)
Attach the lat cross bar assembly (Item #17) to the upper lat
tower
(Item #19) with two (2) 3/8"X2-3/4" bolts (Item #50), four
(4) 3/8"washers
(Item #54) and two (2) 3/8" nylon lock nuts
(Item #57) as shown in Figure I.
Attach the strap hook (Item #20) to the rear of the upper lat
tower using two (2) 1/4"X5/8" phillips head screws
(Item #40)
also shown in Figure I. Make sure the strap hook loop faces
downward as shown in the inset.
Note: Take care to securely tighten the lat cross bar to the
upper lat tower.
Strap Hook
Unit appears
like this
following this
assembly step
Components for this step are in
the Lat Attachment Box
Figure J
Step 2: LAT TOWER INSTALLATION
Note: It is recommended that two
people be used to accomplish this
step. Take care to insure the
upper lat assembly is properly and
securely attached to the base
assembly.
Locate the following parts for this
step:
Six (6) 3/8"X3/4" bolts
(Item #46)
Six (6) 3/8" washers (Item #54)
Upper lat tower assembly (from
Step 9)
Assemble the upper lat tower
assembly to the base unit using six (6)
3/8"X3/4" bolts
(Item #46) and six (6)
3/8" washers
(Item #54) as shown in
Figure J.
*Remove and discard the foam plug
from the lat tower cable storage hole.
Unit appears like
this following this
assembly step
*Foam Plug
Please go to Step 10 on Page 11
to finish assembly.

Other manuals for Bowflex ULTIMATE

Related product manuals