EasyManua.ls Logo

Bowflex ULTIMATE - Machine Operation and Care

Bowflex ULTIMATE
23 pages
Print Icon
To Next Page IconTo Next Page
To Next Page IconTo Next Page
To Previous Page IconTo Previous Page
To Previous Page IconTo Previous Page
Loading...
Assembling Your BOWFLEX Ultimate
9
Figure E2
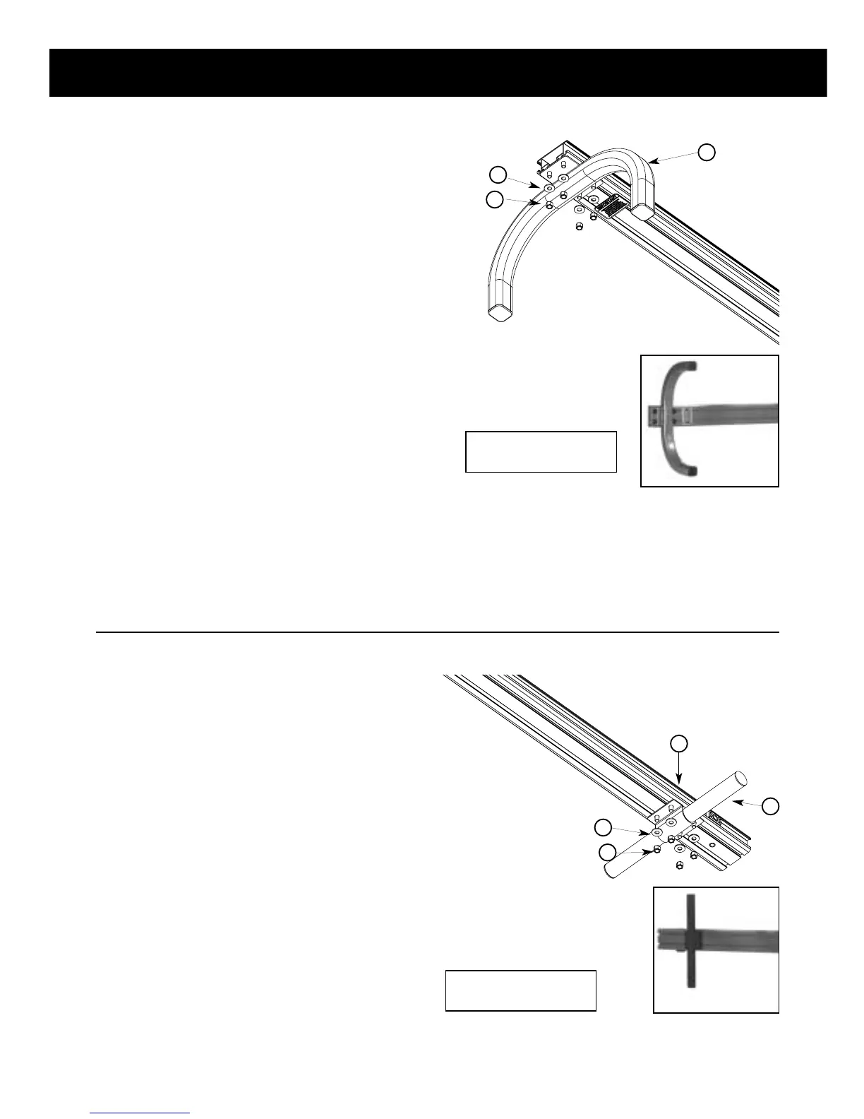
Step 5: REAR LEG
Locate the following parts for this step:
Rear leg
(Item #13)
Seat rail (Item #10)
Four (4) 3/8 nylon lock nuts (Item #57)
Four (4) 3/8" washers (Item #54)
Find the four bolts in the channels on the bottom of the seat
rail assembly closest to the warning sticker. Place the rear leg
mounting bracket
(Item #13) over the four bolts. Make sure
the edge of the bracket is flush with the end of the rail. Place
four (4) 3/8" washers
(Item #54) and four (4) 3/8" nylon lock
nuts (Item #57) on the bolts as shown in figure E2 and tighten.
57
54
13
Unit appears like
this following this
assembly step
Components for this
step are in Box 4
Figure E3
54
57
11
10
Step 6: FOOT REST
Locate the following parts for this step:
Leg press assembly (Item #11)
Seat rail (Item #10)
Four (4) 3/8 nylon lock nuts (Item #57)
Four (4) 3/8" washers (Item #54)
Find the four bolts in the channels on the bottom
of the seat rail assembly that are closest to the
threaded hole. Place the leg press assembly
(Item
#11)
on the four bolts. Place four (4) 3/8" washers
(Item #54) and four (4) 3/8" nylon lock nuts (Item
#57) on the bolts as shown in Figure E3. Make sure
the ends of the bolt keepers holding the leg press
bolts in place are flush with the end of the seat rail.
This will determine the final alignment of the leg
press assembly.
Unit appears
like this
following this
assembly step
Components for this
step are in Box 4

Other manuals for Bowflex ULTIMATE

Related product manuals