EasyManua.ls Logo

Bowflex ULTIMATE - Specialized Training Programs

Bowflex ULTIMATE
23 pages
Print Icon
To Next Page IconTo Next Page
To Next Page IconTo Next Page
To Previous Page IconTo Previous Page
To Previous Page IconTo Previous Page
Loading...
Assembling Your BOWFLEX Ultimate Leg Assembly
17
Figure P
62
54
57
63
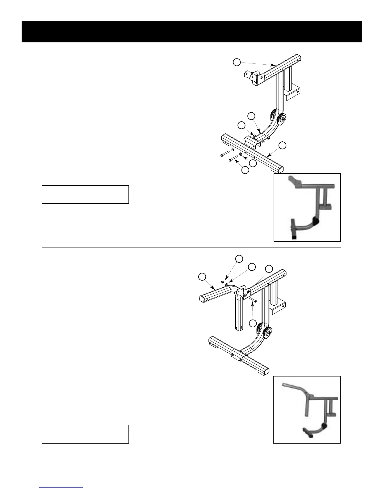
Step 1: LEG EXTENSION FOOT TUBE INSTALLATION
Locate the following parts:
Leg extension main frame (Item #62)
Leg extension foot tube (Item #63)
Two (2) 3/8"X3" bolt (Item #51)
Two (2) 3/8" nylon lock nuts (Item #57)
Four (4) 3/8" washers (Item #54)
Insert the leg extension foot tube (Item #63) into the
leg extension main frame
(Item #62) saddle bracket,
aligning the holes in the bracket with the holes in the foot
tube, as shown in Figure P.
Insert two 3/8"X3" bolts (Item #51) with 3/8" washers
(Item #54) through the holes in both tubes as shown in
Figure P.
Install 3/8 washers (Item #54) and then 3/8" nylon
lock nuts
(Item #57) onto the bolts and securely tighten.
54
51
Unit appears like
this following this
assembly step
Components for this step
are in the Leg Extension Box
Step 2: LEG ASSEMBLY EXTENSION TUBE
Locate the following parts
Leg extension main frame
(Item #62)
Leg extension pivot tube (Item #64)
3/8"X3" bolt (Item #51)
3/8" nylon lock nut (Item #57)
Two (2) 3/8" washers (Item #54)
Untwist the twist-tie that is holding the
bushings in place in the leg extension pivot tube
(Item #64).
Place the leg extension tube (Item #64) as
shown in Figure Q. The tube is symmetrical so
orientation does not matter.
Insert the 3/8"X3" bolt (Item #51) with a 3/8"
washer
(Item #54) on it through the leg
extension main frame (Item #62) and through
the leg extension tube (Item #64) as shown in
Figure Q.
Install a 3/8" washer (Item #54) onto the bolt
and securely tighten the 3/8" nylon lock nut
(Item #57).
Figure Q
54
51
57
64
54
Unit appears like
this following this
assembly step
Components for this step
are in the Leg Extension Box

Other manuals for Bowflex ULTIMATE

Related product manuals