EasyManua.ls Logo

Casio A-10 - Z305-1 Pcb Assy; Lower Case B Assy

Casio A-10
87 pages
Print Icon
To Next Page IconTo Next Page
To Next Page IconTo Next Page
To Previous Page IconTo Previous Page
To Previous Page IconTo Previous Page
Loading...
— 78 —
10-1
10-2
10-3
10-4
10
10-5
10-6
10-7
10-4
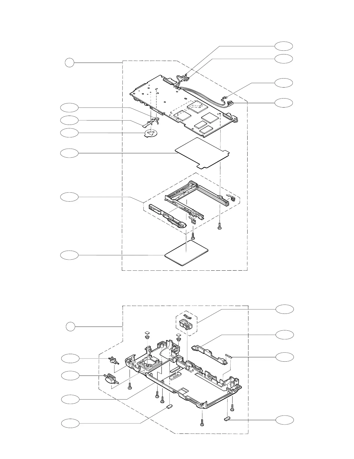
Z305-1 PCB ASS’Y
LOWER CASE B ASS’Y
5-1
5-2
5-5
5-6
5-4
5-3
5
5-7
5-8
5-9
5-10

Table of Contents

Related product manuals