EasyManua.ls Logo

Clarion SR1000 - H1;8; H1;10; H1;11

Clarion SR1000
55 pages
Print Icon
To Next Page IconTo Next Page
To Next Page IconTo Next Page
To Previous Page IconTo Previous Page
To Previous Page IconTo Previous Page
Loading...
20
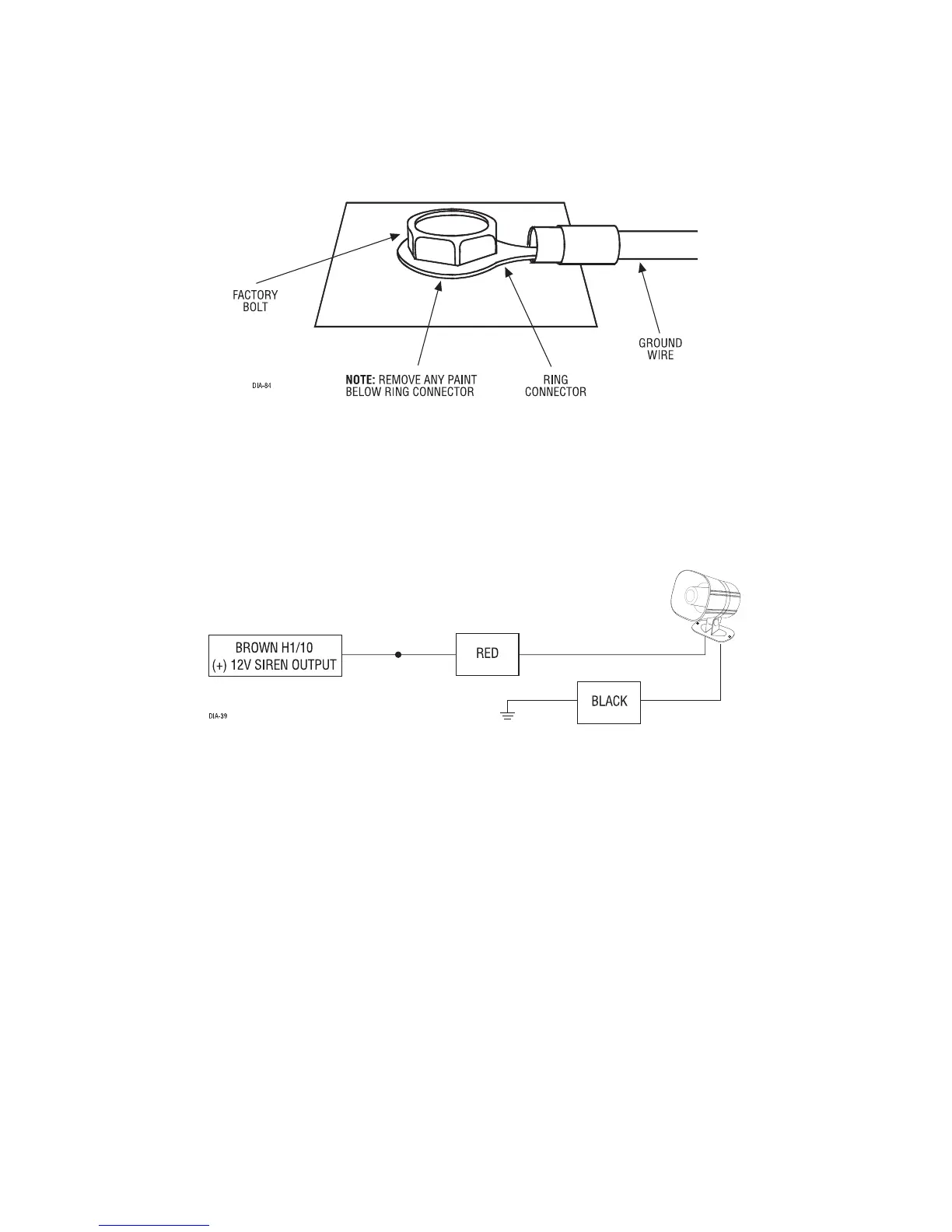
H1/8 BLACK (-) chassis ground connection
Remove any paint and connect this wire to bare metal, preferably with a factory bolt rather than
your own screw. (Screws tend to either strip or loosen with time.) We recommend grounding all your
components, including the siren, to the same point in the vehicle.
H1/10 BROWN (+) siren output
Connect this to the red wire of the siren. Connect the black wire of the siren to (-) chassis ground,
preferably at the same point you connected the control module’s black ground wire.
H1/11 RED (+)12V constant power input
Before connecting this wire, remove the supplied fuse. Connect to the battery positive terminal or the
constant 12V supply to the ignition switch.
NNOOTTEE::
Always use a fuse within 12 inches of the point you obtain (+)12V. Do not use the 15A fuse in the har-
ness for this purpose. This fuse protects the module itself.

Table of Contents

Related product manuals