EasyManua.ls Logo

Clarion SR1000 - Auxiliary Harness (H2), 6-Pin Connector; H2;2; H2;3

Clarion SR1000
55 pages
Print Icon
To Next Page IconTo Next Page
To Next Page IconTo Next Page
To Previous Page IconTo Previous Page
To Previous Page IconTo Previous Page
Loading...
22
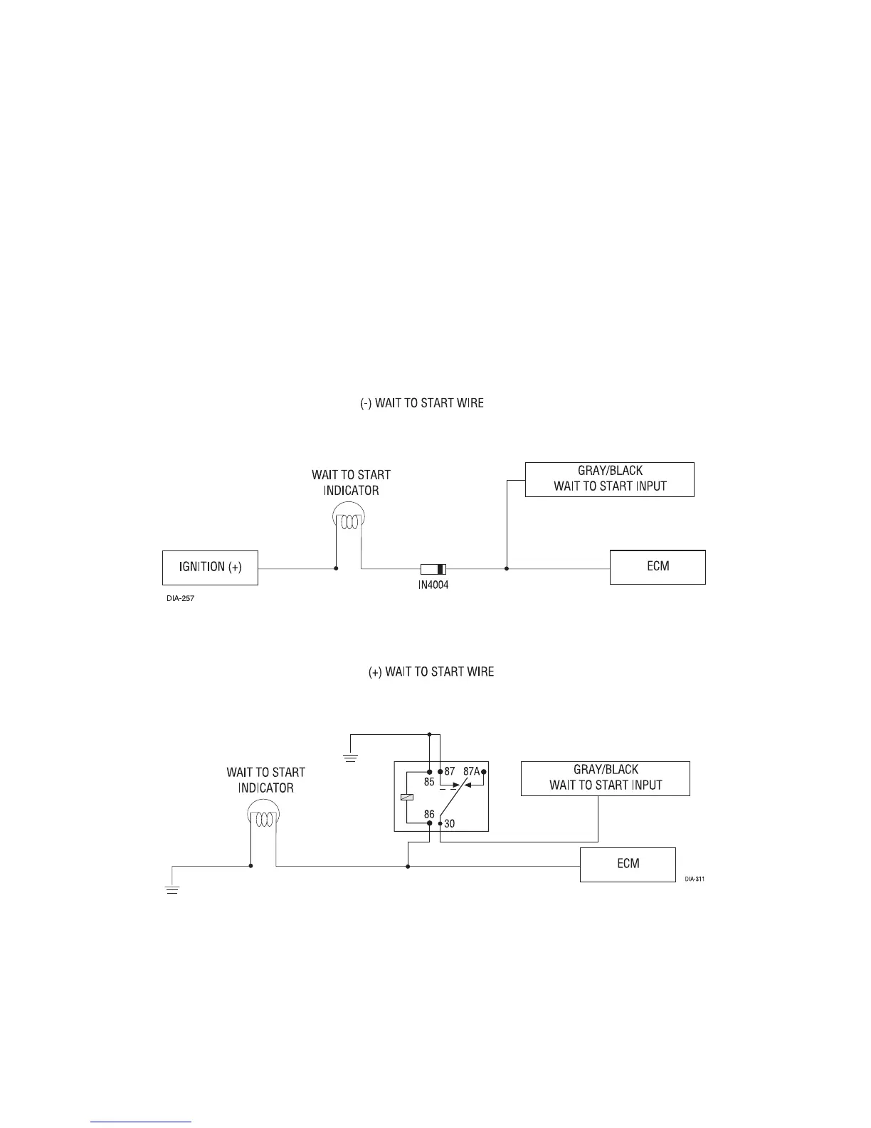
H2/2 GRAY/BLACK (-) diesel wait-to-start bulb input
Connect this wire to the wire in the vehicle that sends the signal to turn on the WAIT-TO-START bulb
in the dashboard. In most diesels the wire is negative (ground turns on the bulb) and the
GRAY/BLACK wire can be directly connected to the wire in the vehicle. If the vehicle uses a positive
wire (12V to turn on the bulb) a relay must be used to change the polarity. (See Finding the Wires
You Need section of this guide.) Here are some common colors of this wire:
Chevrolet and GMC trucks - Light blue or dark blue
Ford Trucks - Black/pink
Dodge Ram Trucks - Orange/black or black/orange
NNOOTTEE!!
A 1-amp diode must be installed in line on the factory wire between the wait-to-start indicator and the
ECM. (See the following diagram for details.)
H2/3 GREEN/WHITE factory alarm rearm
This wire sends a negative pulse every time the remote start shuts down or the doors are locked. This
can be used to pulse the arm wire of the vehicle's factory anti-theft device. Use a relay to send a (-)
or (+) pulse to the arm wire.

Table of Contents

Related product manuals