EasyManua.ls Logo

Clarion SR1000 - Page 28

Clarion SR1000
55 pages
Print Icon
To Next Page IconTo Next Page
To Next Page IconTo Next Page
To Previous Page IconTo Previous Page
To Previous Page IconTo Previous Page
Loading...
28
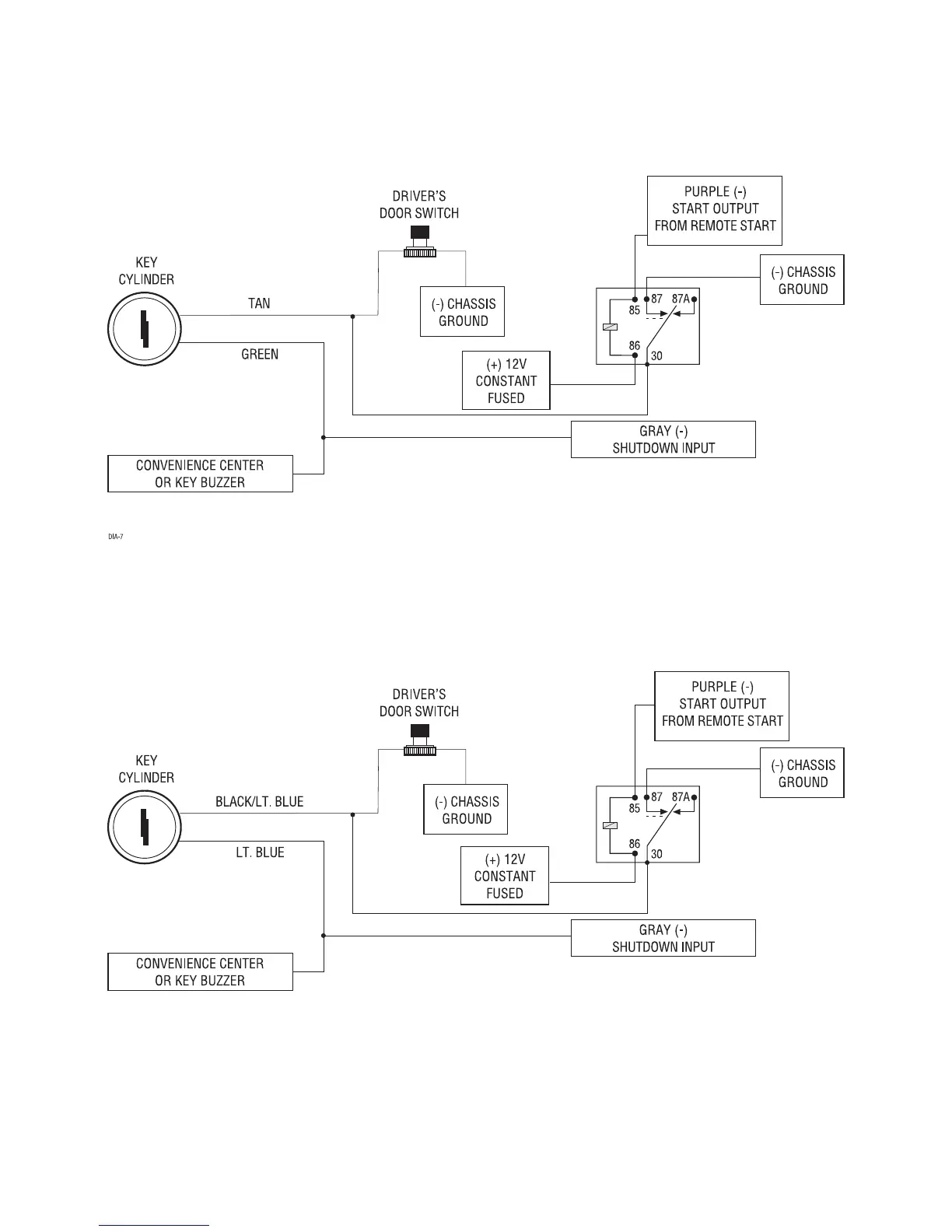
IIMMPPOORRTTAANNTT!!
Once the interface is complete, attempt to remote start the vehicle with the door closed and the
key in the ignition. The vehicle should not start. If it does, recheck the connections.
General Motors trucks, sport utility vehicles and column shifting passenger vehicles:
Pre-1996 Dodge Dakota pickups with 2.5 liter motors:

Table of Contents

Related product manuals