EasyManua.ls Logo

Comelit 3360B - Diagram

Comelit 3360B
36 pages
Print Icon
To Next Page IconTo Next Page
To Next Page IconTo Next Page
To Previous Page IconTo Previous Page
To Previous Page IconTo Previous Page
Loading...
35 35
1210
L
N
110-240V
L2
L2
L1
L1
J1
J2
J2
3360B
S
G
N
DG
R
P
485
D
-
+
D
485 24
Vac
24
Vac
4681
LL
O
D
E
T
R
NO
SE
-
SE
+
NC
C
O
M
+
VV
-
G
N
D
20022618
-
D
D
N
G
120E
1/4W
D
D
-
3360B
TCC-80
MOXA
D
+
-
T T
+
USB
ALIM.
5V
12 3
ON
1210
L
N
110-240V
L2
L2
L1
L1
J1
J2
J2
3360B
S
G
N
DG
R
P
485
D
-
+
D
485 24
Vac
24
Vac
4681
LL
O
D
E
T
R
NO
SE
-
SE
+
NC
C
O
M
+
VV
-
G
N
D
J1
J2
J2
3360B
S
G
N
DG
R
P
485
D
-
+
D
485 24
Vac
24
Vac
20022618
-
D
D
N
G
120E
1/4W
D
D
-
3360B
TCC-80
MOXA
D
+
-
T T
+
USB
ALIM.
5V
12 3
ON
J1
J2
J2
3360B
S
G
N
DG
R
P
485
D
-
+
D
485 24
Vac
24
Vac
4680C
LL
O
D
C
O
M
+
VV
-
E
T
R
P
R
G
N
D
NONC
S
E
1595
+
-
120-230 V
4680C
LL
O
D
C
O
M
+
VV
-
E
T
R
P
R
G
N
D
NONC
S
E
1595
+
-
120-230 V
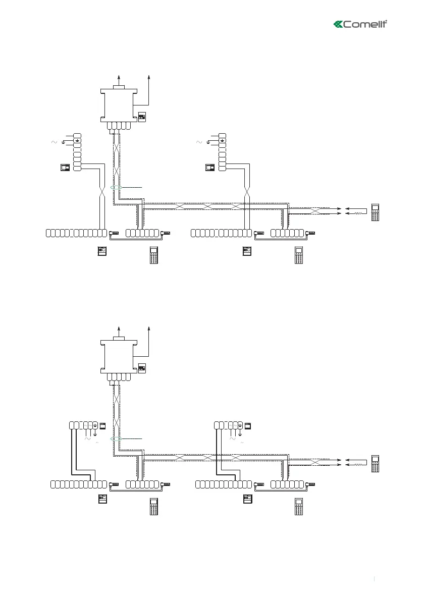
CAUTION:
- It is possible to use up to 5 terminals Art. 3360B
-
Maximum distance between Art. 20022618 and
furthest terminal Art. 3360B: 100 m
Computer
Braided, shielded
telephone cable
Braided, shielded
telephone cable
Computer
CA/EN/115B

Table of Contents

Related product manuals