EasyManua.ls Logo

Consilium SRT - Page 99

Consilium SRT
120 pages
Print Icon
To Next Page IconTo Next Page
To Next Page IconTo Next Page
To Previous Page IconTo Previous Page
To Previous Page IconTo Previous Page
Loading...
SRT X-BAND RADAR SYSTEMS
INSTALLATION
304202P003 8.16 Rev. C
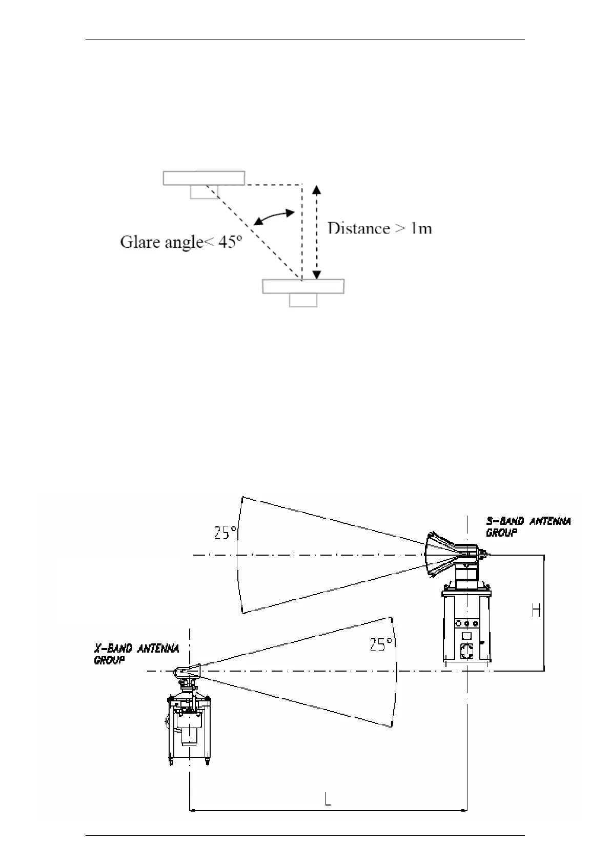
Fig 4 Antenna Positions
H L

Table of Contents