EasyManua.ls Logo

Custom Engineering VKP80II - Page 49

Custom Engineering VKP80II
56 pages
Print Icon
To Next Page IconTo Next Page
To Next Page IconTo Next Page
To Previous Page IconTo Previous Page
To Previous Page IconTo Previous Page
Loading...
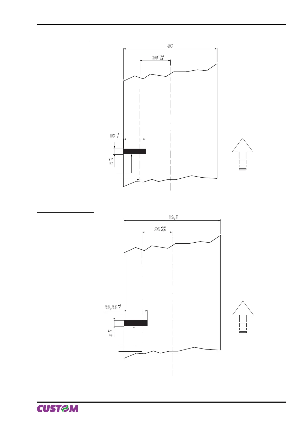
Notch on 80 mm paper
80
26
+0,5
-0,5
19
+1
0
5
+1
0
Direction
of paper
feed
NON HEAT
SENSITIVE Side
Notch sensor axis
Black notch
Notch on 82,5 mm paper
82,5
26
+0,5
-0,5
5
+1
0
20,25
+1
0
Direction
of paper
feed
NON HEAT
SENSITIVE Side
Notch sensor axis
Black notch
(Fig.B.9)
(Fig.B.10)
APPENDIX B - ALIGNMENT MANAGEMENT
User Manual VKP80II B-7

Related product manuals