EasyManua.ls Logo

CYBELEC DNC 600S - Page 72

CYBELEC DNC 600S
116 pages
Print Icon
To Next Page IconTo Next Page
To Next Page IconTo Next Page
To Previous Page IconTo Previous Page
To Previous Page IconTo Previous Page
Loading...
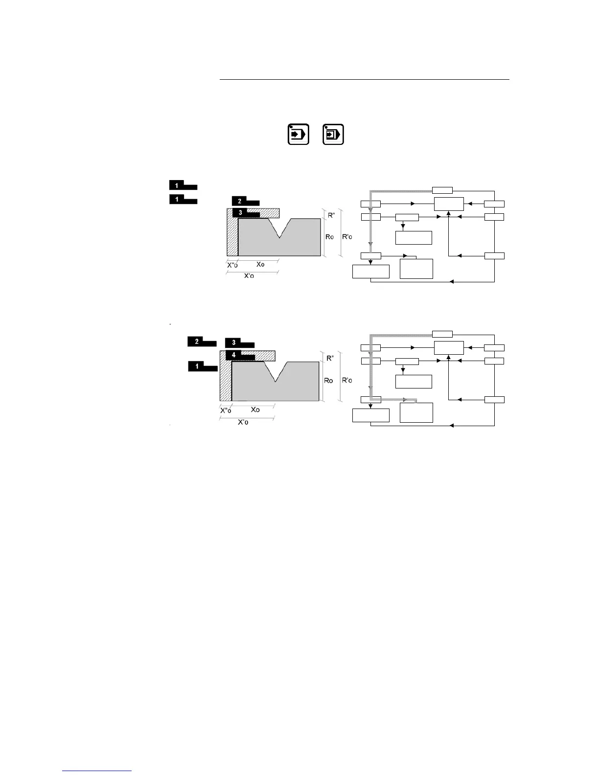
Two Examples of Positioning
These two examples show that it is possible to position in the safety zone.
If the positioning requested is situated in the prohibited zone, the DNC
or
refuses to go into mode and the cursor moves to the X field.
1 Departing position
2 Temporary stopping position
3 Destination position
Xv > X'c ?
Xv > X'o ?
Rv > R'o ?
Rc > R'o
Rv > R'o ?
Rv > Rc ?
Xc > X'o ?Rc> R'o ?
dégagement R
oui
non
non
non
pos. X et R
ouinon
oui
oui
non
non
non
oui
oui
oui
non
Positionnement
simultané X et R
dégagement R
puis pos. X
puis pos. R
Pos à R'o
et X puis R
1 Departing position
2 Temporary stopping position
3 Temporary stopping position
4 Destination position
Xv > X'c ?
Xv > X'o ?
Rv > R'o ?
Rc > R'o
Rv > R'o ?
Rv > Rc ?
Xc > X'o ?Rc> R'o ?
dégagement R
pos. X et R
ouinon
oui
oui
ouioui
oui
non
non
non
non
non
non
non
oui
Positionnement
simultané X et R
dégagement R
puis pos. X
puis pos. R
Pos à R'o
et X puis R
APPENDIX G: MISCELLANEAOUS PAGE 63

Table of Contents

Related product manuals