EasyManua.ls Logo

Delta ASD-A2R-0421 Series - Page 83

Delta ASD-A2R-0421 Series
660 pages
Print Icon
To Next Page IconTo Next Page
To Next Page IconTo Next Page
To Previous Page IconTo Previous Page
To Previous Page IconTo Previous Page
Loading...
Chapter 3 Wiring ASDA-A2R Series
Revision December, 2014
3-35
The high-speed pulse input interface of the servo drive is not the
isolated interface. In order to reduce the interference of the noise, it is
suggested that the terminal ground of the controller and the servo
drive should be connected to each other.
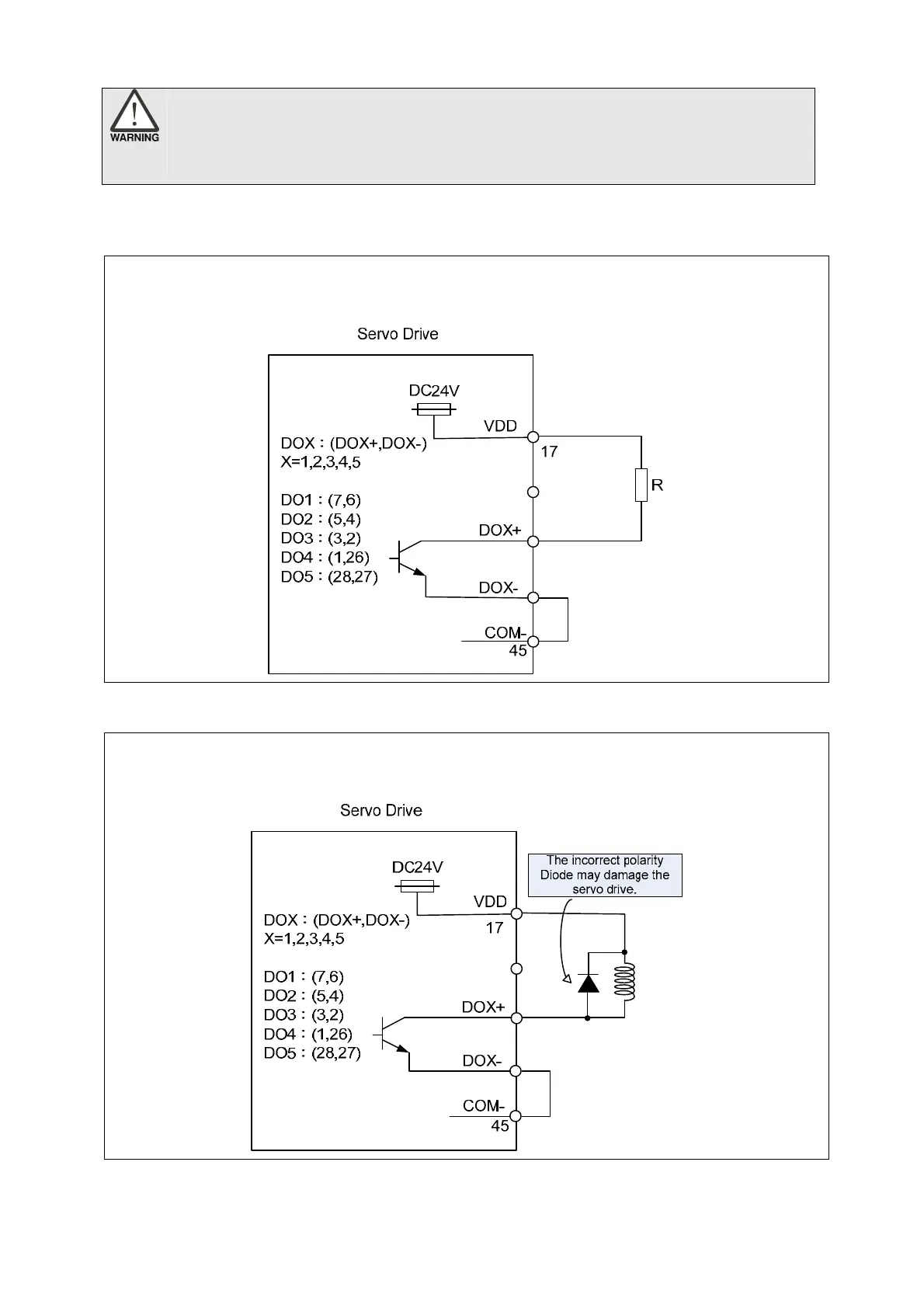
When the drive connects to inductive load, the diode has to be installed. (The permissible
current is under 40mA. The surge current is under 100mA.)
C5: Wiring of DO signal. The servo drive applies to the internal power and the resistor is
general load.
C6: Wiring of DO signal. The servo drive applies to the internal power and the resistor is
inductive load.

Table of Contents

Related product manuals