EasyManua.ls Logo

Delta ASD-A2R-0421 Series - Page 86

Delta ASD-A2R-0421 Series
660 pages
Print Icon
To Next Page IconTo Next Page
To Next Page IconTo Next Page
To Previous Page IconTo Previous Page
To Previous Page IconTo Previous Page
Loading...
Chapter 3 Wiring ASDA-A2R Series
3-38 Revision December. 2014
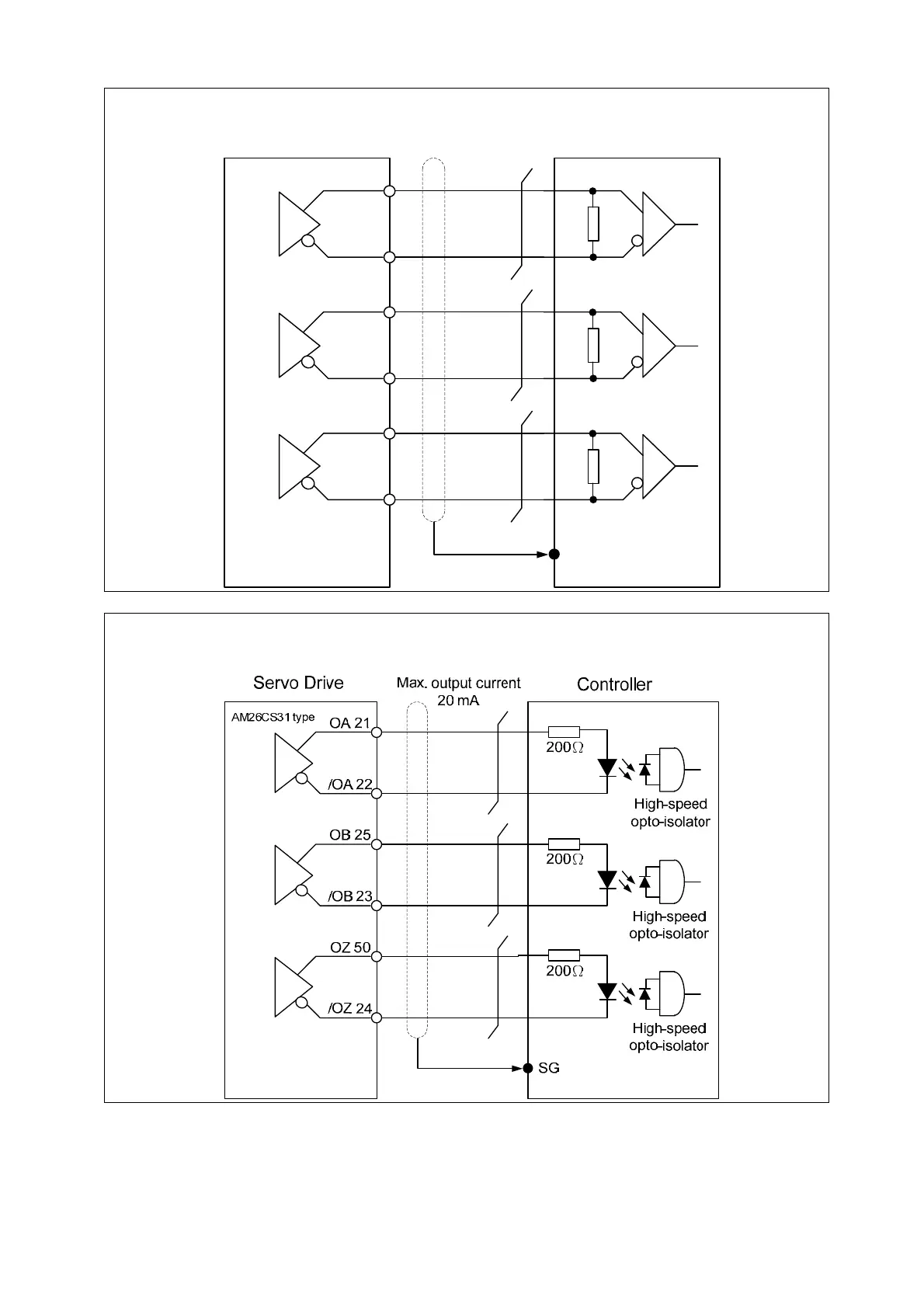
C13: Encoder signal output (Line driver)
125Ω
125Ω
125Ω
OA 21
/OA 22
OB 25
/OB 23
/OZ 24
OZ 50
Controller
Servo Drive
AM26CS31 type
Max. output current 20mA
SG
C14: Encoder signal output (Opto-isolator)

Table of Contents

Related product manuals