EasyManua.ls Logo

Delta ASDA-M Series - Page 73

Delta ASDA-M Series
645 pages
Print Icon
To Next Page IconTo Next Page
To Next Page IconTo Next Page
To Previous Page IconTo Previous Page
To Previous Page IconTo Previous Page
Loading...
Chapter 3 Wiring ASDA-M
3-36 Revision December, 2014
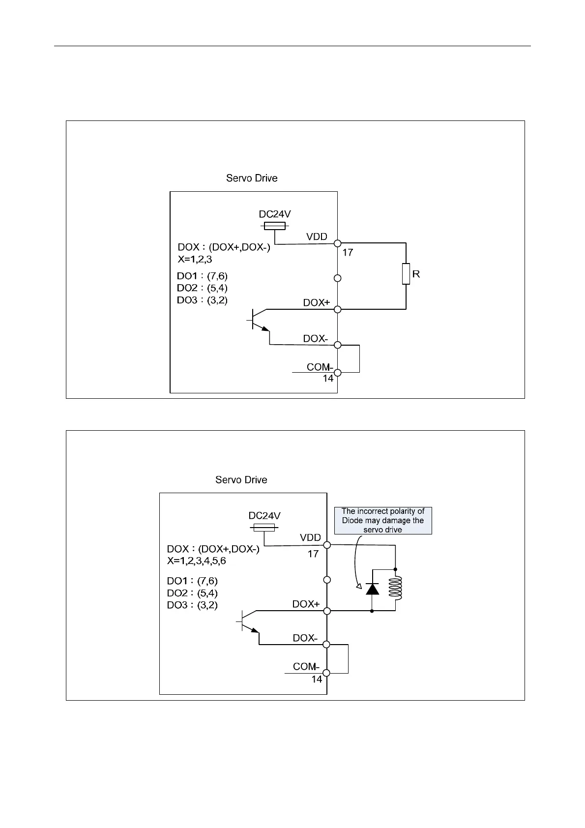
When the drive connects to inductive load, the diode has to be installed. (The permissible
current is under 40mA. The surge current is under 100mA.)
C5: Wiring of DO signal. The servo drive applies to the internal power and the resistor is
general load.
C6: Wiring of DO signal. The servo drive applies to the internal power and the resistor is
inductive load.

Table of Contents

Other manuals for Delta ASDA-M Series

Related product manuals