EasyManua.ls Logo

DIGITAL-LOGIC Microspace MSM586SEN - MSM586 SEN;SEV Block Diagram

DIGITAL-LOGIC Microspace MSM586SEN
348 pages
Print Icon
To Next Page IconTo Next Page
To Next Page IconTo Next Page
To Previous Page IconTo Previous Page
To Previous Page IconTo Previous Page
Loading...
DIGITAL-LOGIC AG MSM586SEN/SEV Manual V1.5E
12
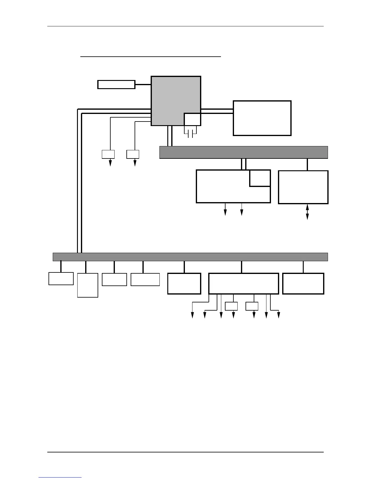
DRAM
BUS
2.3 MSM586SEN/SEV block diagram
ELAN520
CPU
SODIMM
up to 128 Mbyte
EIDE
&
CF
LCD/VGA
Controller 69000
PCI
-
BUS
LCD
CRT
BIOS
256kByte
Super I/O
37B787
PC/10
4
Bus
Ethernet
LAN
INTEL 82559ER
ISA
-
BUS
MAX2ll
FD
LPT1
MAX2ll
COM3
COM4
JTAG Port
RTC
LiBAT
EEPROM
2kByte
Watchdog
KB Mouse
100/10BASE-T
VRAM
2 MB
MAX2ll
MAX2ll
COM1
COM2
IrDA
DOC2000

Table of Contents