EasyManua.ls Logo

EKOM DK50-10 - Page 245

EKOM DK50-10
276 pages
Print Icon
To Next Page IconTo Next Page
To Next Page IconTo Next Page
To Previous Page IconTo Previous Page
To Previous Page IconTo Previous Page
Loading...
DK50-10
01/2022 - 245 - NP-DK50-10-16_01-2022-MD
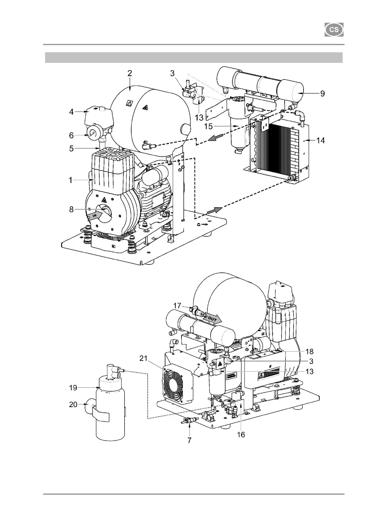
Obr. 2: DK50-10Z/M - Kompresor se sušičem

Table of Contents

Other manuals for EKOM DK50-10

Related product manuals