EasyManua.ls Logo

EKOM DK50-10 - Page 57

EKOM DK50-10
276 pages
Print Icon
To Next Page IconTo Next Page
To Next Page IconTo Next Page
To Previous Page IconTo Previous Page
To Previous Page IconTo Previous Page
Loading...
DK50-10
01/2022 - 57 - NP-DK50-10-16_01-2022-MD
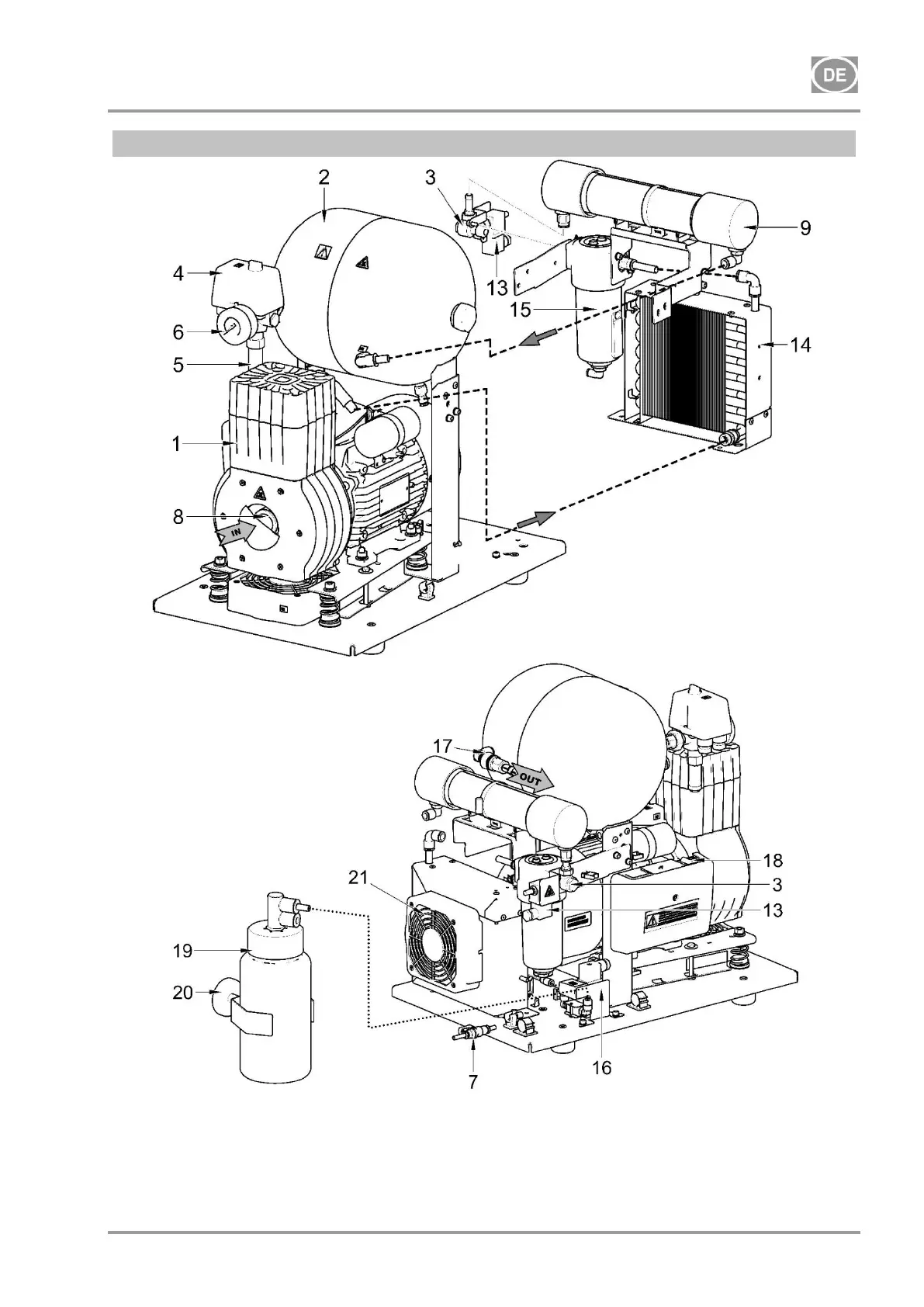
Abb. 2: DK50-10Z/M - Kompressor mit Trockner

Table of Contents

Other manuals for EKOM DK50-10

Related product manuals