EasyManua.ls Logo

Electrolux T5675 - Page 49

Electrolux T5675
174 pages
Print Icon
To Next Page IconTo Next Page
To Next Page IconTo Next Page
To Previous Page IconTo Previous Page
To Previous Page IconTo Previous Page
Loading...
Heatingunit,gas
49
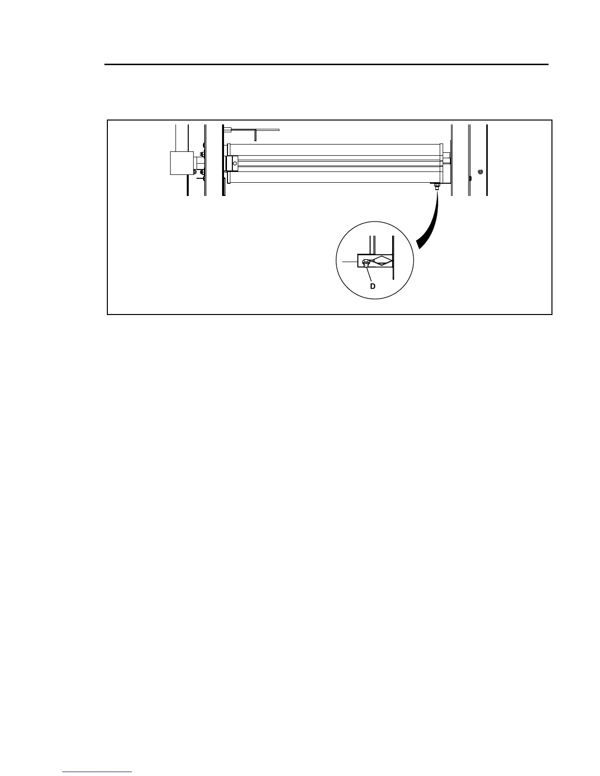
Loosenthescrewandnut(D)holdingthegasburnertoremovethegasburner.
69
D
g.W00239B
Mountthenewgasburnerwiththenutandscrewfromtheoldone.
Remountthetwobrackets(C),thetwoairreducingplates(B)andthetwo“lockingpanels”(A).
Fastenthegasburnertothegasvalve.
Remountthegasunit.
Remountthetworearpanelsandconnectthegasinlet.

Table of Contents

Other manuals for Electrolux T5675

Related product manuals