EasyManua.ls Logo

EverFocus EDVR SERIES - Back Panel Connections

EverFocus EDVR SERIES
148 pages
Print Icon
To Next Page IconTo Next Page
To Next Page IconTo Next Page
To Previous Page IconTo Previous Page
To Previous Page IconTo Previous Page
Loading...
1
1
.
.
4
4
B
B
a
a
c
c
k
k
P
P
a
a
n
n
e
e
l
l
C
C
o
o
n
n
n
n
e
e
c
c
t
t
i
i
o
o
n
n
s
s
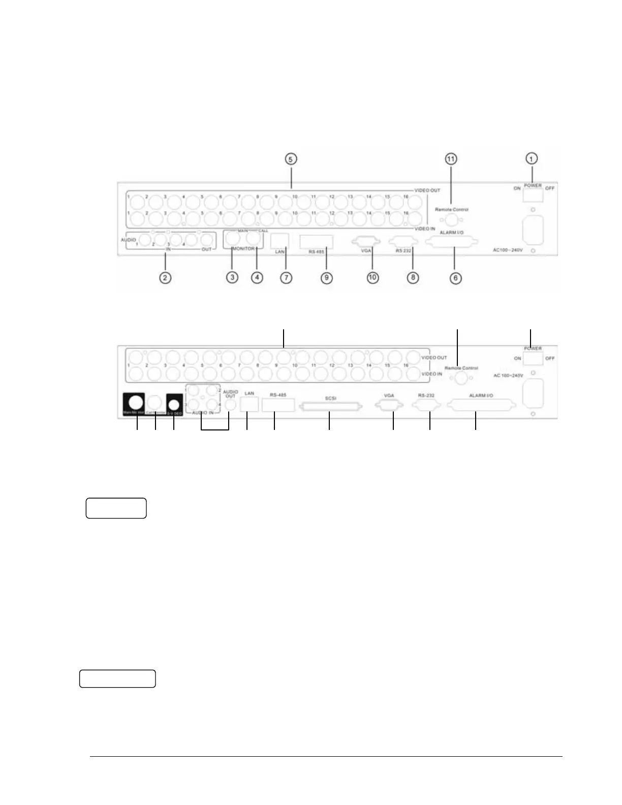
For model:
EDVRD3
3
4
2
13
5
11
1
6
8
10
9
12
7
For models:
EDVR16D1/F1, EDVR16D2/F2,
EDVR9D1/F1, EDVR4D1/F1
POWER
1
Main Power plug
Connect power jack (AC 100~240V).
2
Audio IN
Audio inputs 1~4 for recording, and it can be enabled by setting to “YES” or “NO” in
the RECORD SETUP MENU.
Audio OUT
Connect an audio output to a monitor or other device. Audio 1 corresponds to CH 1,
audio 2 corresponds to CH 2, audio 3 corresponds to CH 3 and audio 4 corresponds
to CH 4.
MONITOR
3
MAIN MONITOR
8

Other manuals for EverFocus EDVR SERIES

Related product manuals