EasyManua.ls Logo

EverFocus EDVR SERIES - Monitor Display

EverFocus EDVR SERIES
148 pages
Print Icon
To Next Page IconTo Next Page
To Next Page IconTo Next Page
To Previous Page IconTo Previous Page
To Previous Page IconTo Previous Page
Loading...
1
1
.
.
5
5
M
M
o
o
n
n
i
i
t
t
o
o
r
r
D
D
i
i
s
s
p
p
l
l
a
a
y
y
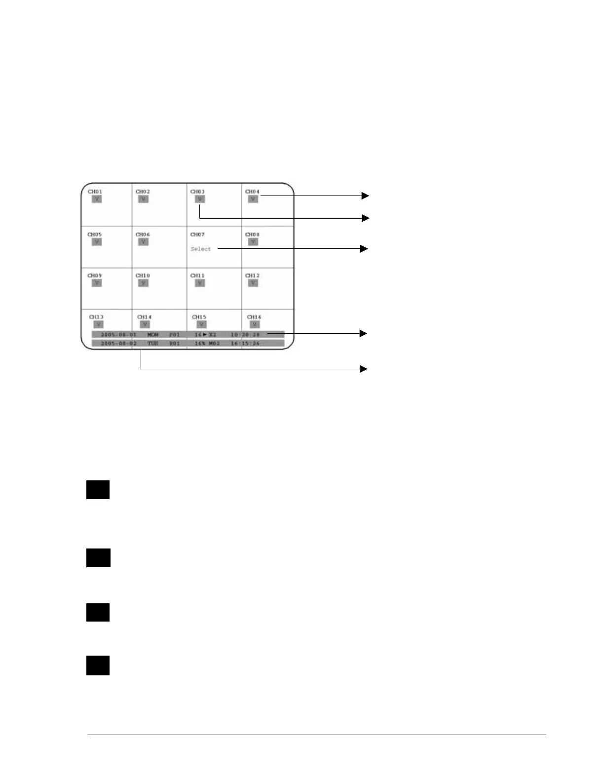
The status information of the cameras or machine will show up, and be located at
different places on the screen.
1
Channel tag
A channel tag indicates the channel name of the screen.
2
Event sign
Event signals which are small icons with a capital letter and red background show
the events on each screen. There are totally 6 different signals which are:
Alarm event.
The alarm place where the camera locates. In order to show the camera video to a
corresponding alarm, setting a FOCUS CAMERA in ALARM SETUP MENU is
necessary.
Motion event.
Motion event only shows up when the camera’s MOTION is enabled in MOTION
SETUP MENU, and the camera detects a motion.
Video loss event.
Video loss event only shows when the camera’s VLOSS is enabled in VLOSS
SETUP MENU, and the camera signal is lost.
Sequence sign.
Sequence sign shows up when the display is in the sequence mode.
4. Play status bar
5. Record status ba
r
A
M
V
S
1. Channel tag
2. Event sign
3. Select sign
11

Other manuals for EverFocus EDVR SERIES

Related product manuals