EasyManua.ls Logo

FE TP-G1-?LS - Page 31

Default Icon
64 pages
Print Icon
To Next Page IconTo Next Page
To Next Page IconTo Next Page
To Previous Page IconTo Previous Page
To Previous Page IconTo Previous Page
Loading...
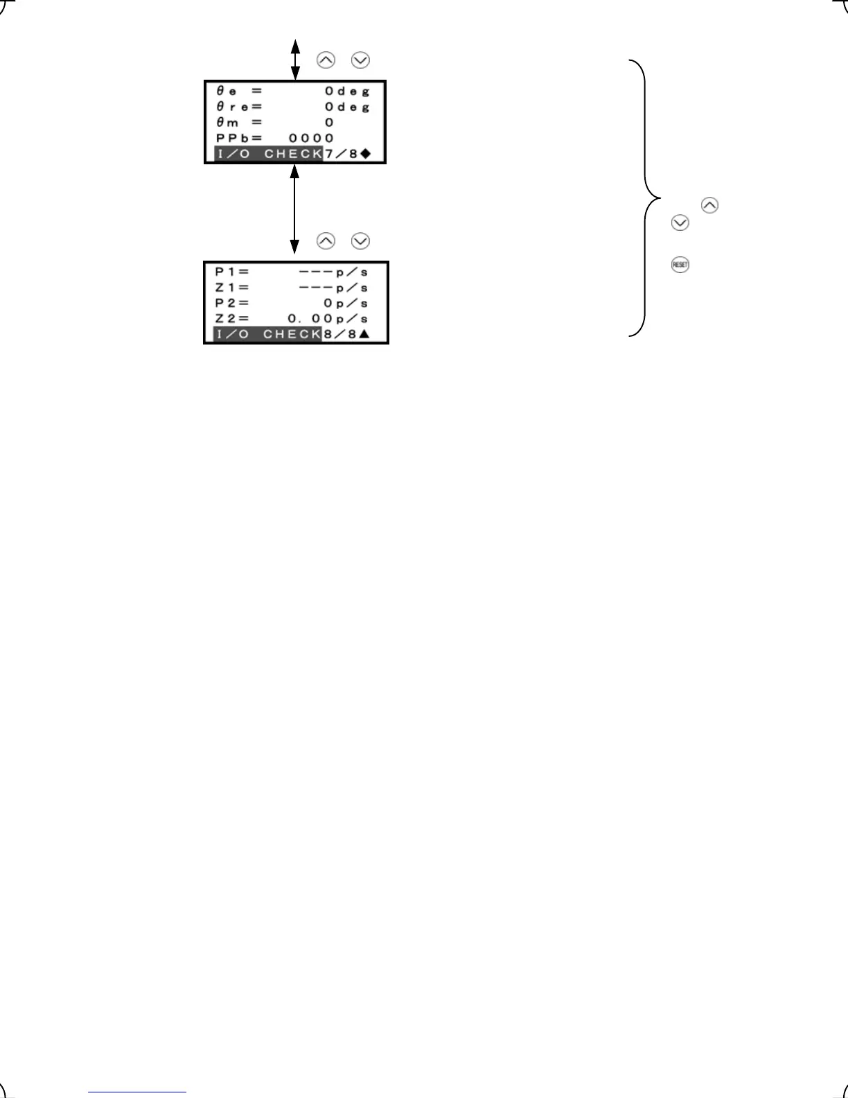
Output electrical angle
Magnet pole position detection angle
(only when the PP option is mounted)
Detected mechanical angle
(only when the PS option is mounted)
Magnet pole position detection signal
in binary (only when the PP option is
mounted)
Not applicable
Not applicable
Encoder pulse frequency for A- and
B-phase
Encoder pulse frequency for Z-phase
Figure 3.14 Screen Transition for "4. I/O CHECK" (continued)
/
Phase angle
Common
operation:
To confirm
data, call the
desired page
with
/
keys.
/
Press the
Encoder pulse frequency
key to
return to
Menu.
3-18

Table of Contents

Related product manuals