EasyManua.ls Logo

GE Carestation 650 A1 - Page 38

GE Carestation 650 A1
268 pages
To Next Page IconTo Next Page
To Next Page IconTo Next Page
To Previous Page IconTo Previous Page
To Previous Page IconTo Previous Page
Loading...
AC.24.014
1
6
10
8
7
9
2
3
4
5
11
12
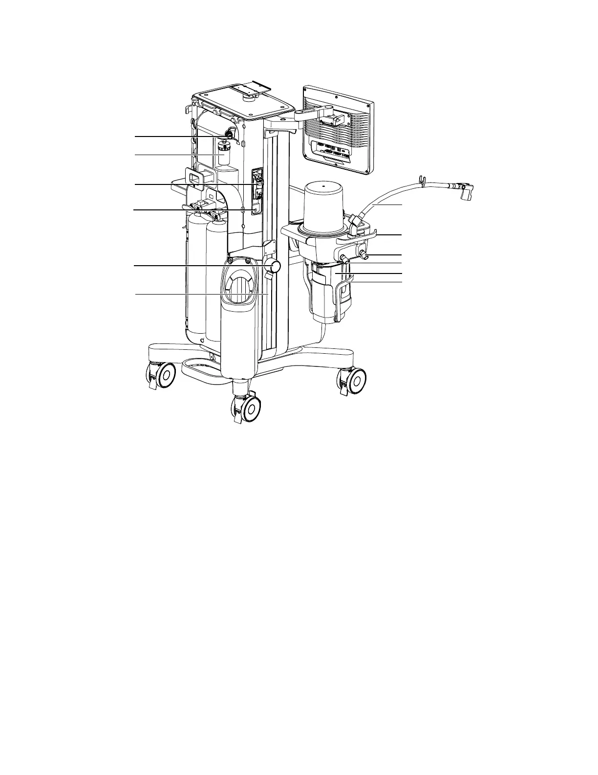
1. Bag support arm 7. Left dovetail
2. Breathing system guard 8. Anesthesia Gas Scavenging System (AGSS) port
3. Inspiratory port 9. Sample gas return port
4. Expiratory port 10. Airway module
5. Absorber canister 11. Suction trap
6. Absorber canister lifter handle 12. Suction fitting
Figure 2-3 • Rear view (Right)
Carestation
620/650/650c (A1)
2-4 2076152-001

Table of Contents

Related product manuals