EasyManua.ls Logo

Generac Power Systems VT HYBRID

Generac Power Systems VT HYBRID
102 pages
To Next Page IconTo Next Page
To Next Page IconTo Next Page
To Previous Page IconTo Previous Page
To Previous Page IconTo Previous Page
Loading...
VT HYBRID 9mt 4x150W LED
84
TL187-01-00-00
01-07-2016
FIAMM battery
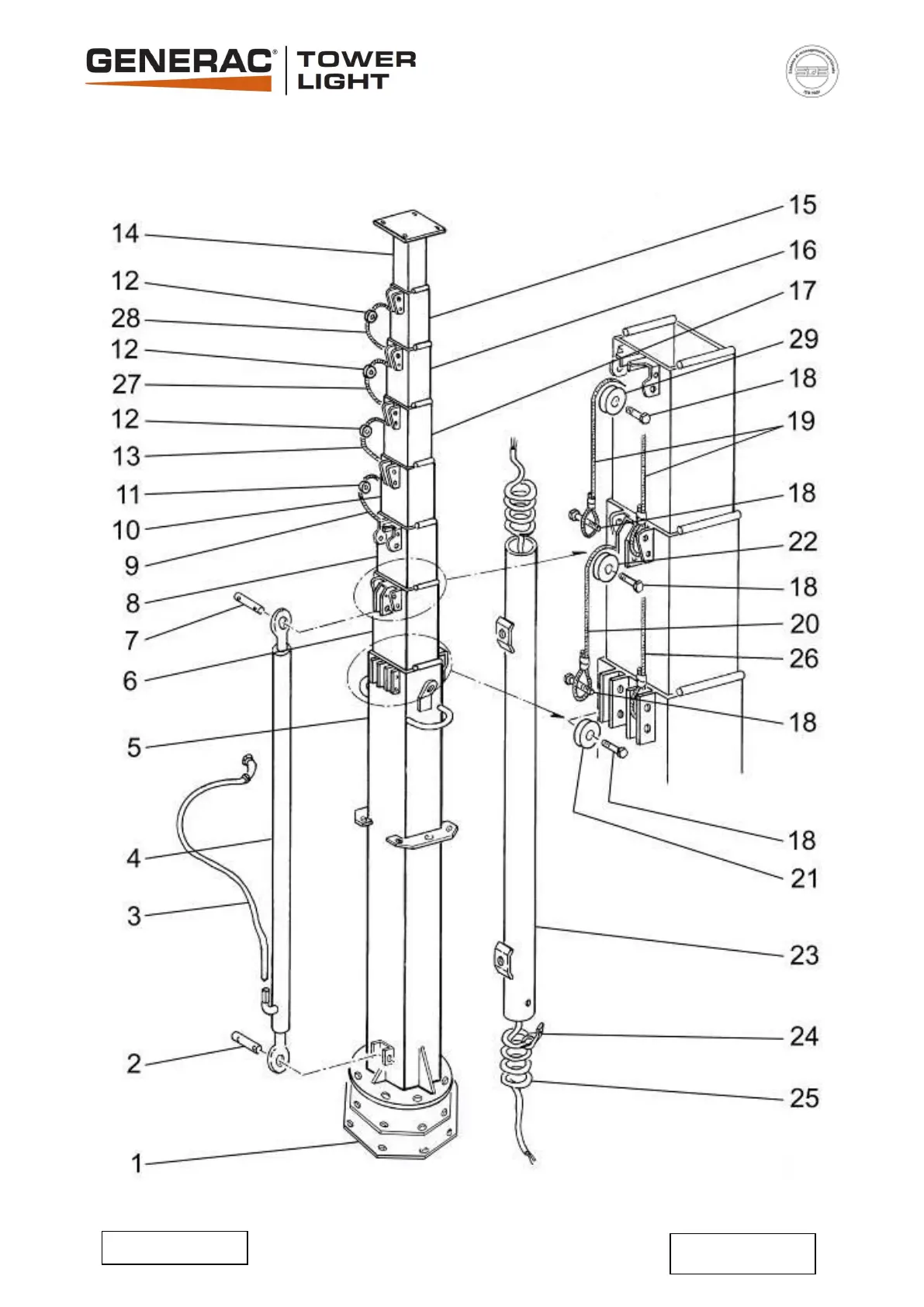
19.8 TELESKOOPPIPYLVÄÄN VARAOSALUETTELO TELESCOPIC MAST SPARE PARTS LIST

Table of Contents

Related product manuals