EasyManua.ls Logo

Graco LineLazer V 200HS - World Symbol Key

Graco LineLazer V 200HS
70 pages
Print Icon
To Next Page IconTo Next Page
To Next Page IconTo Next Page
To Previous Page IconTo Previous Page
To Previous Page IconTo Previous Page
Loading...
World Symbol Key
60 3A3426EOperation
World Symbol Key
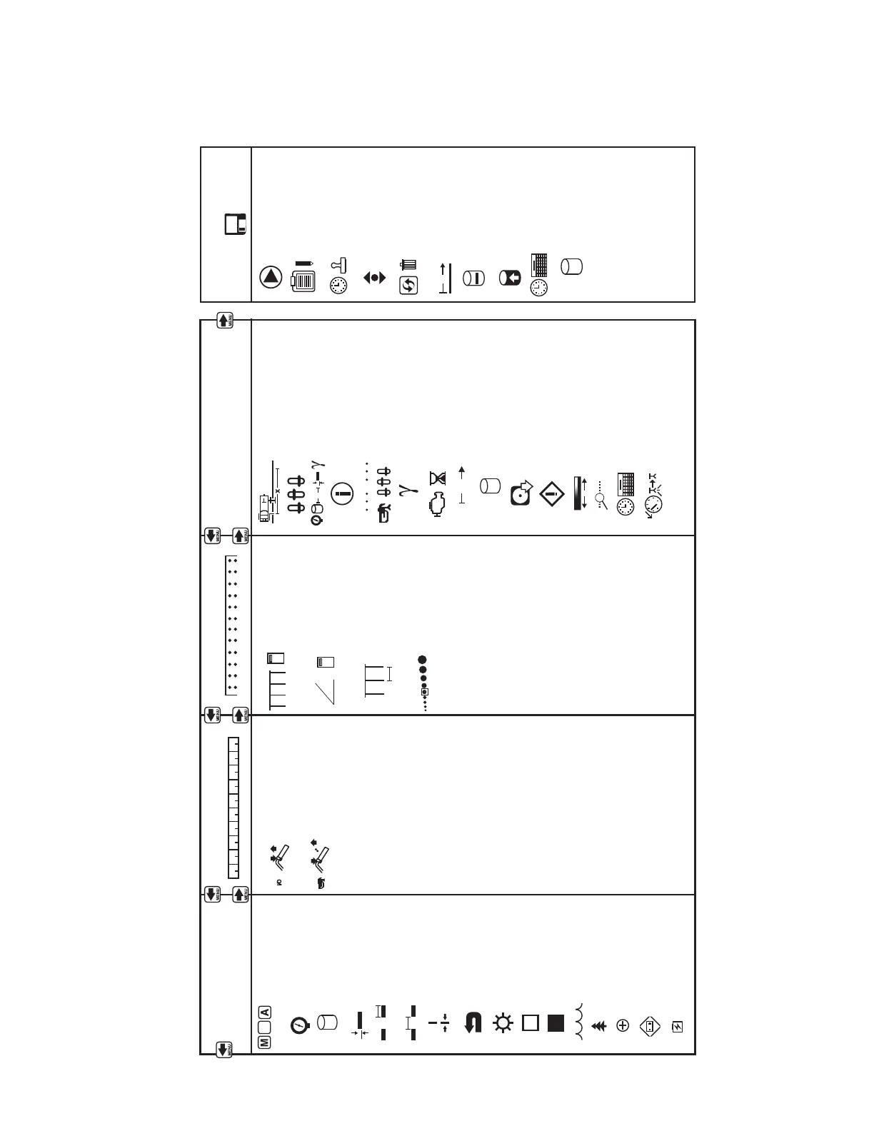
LLV GLOBAL SYMBOL KEY
MENU SCREENS
STRIPING MODE MEASURE MODE
LAYOUT MODE SETTINGS/DATA
DATA LOGGING
MANUAL,
SEMI- AUTOMATIC or
AUTOMATIC MODE
PRESSURE
GALLONS/LITERS
LINE THICKNESS
PAINT LENGTH
SPACE LENGTH
LINE WIDTH
EXIT
YELLOW
PRESS TO START/STOP
HOLD TO SPRAY A DOT
STALL CALCULATOR
ANGLE CALCULATOR
STALL WIDTH
DOT SIZE SELECTOR
CALIBRATE START RECORDING
NEW JOB
JOBS
TIME STAMP
SCROLL
SETTINGS
UNITS
INFORMATION
& LIFE DATA
MARKER LAYOUT MODE
GUN SETTINGS
SPECIFIC GRAVITY
ENGINE HOURS
TOTAL DISTANCE
TOTAL GALLONS
SOFTWARE REV
ERROR CODES
CONTRAST
DIAGNOSTICS
TIME AND DATE
LOW SPEED SHUTOFF
I/O
....
....
ș
÷
x
+
-
÷
x
+
-
1 2 3 4 5 6 7 8 9 10
TOTALGALLONS/
LITERS
X'
X'
A
TIME AND DATE
ti28025a
S
WHITE
BLUE
GREEN
RED
BATTERY LOW
BLACK
BATTERY CHARGING
DELETE
DISTANCE PAINTED
GALLONS OF LINE
PAINTED
X
GALLONS OF
STENCIL PAINTED

Table of Contents

Related product manuals