EasyManua.ls Logo

GRAPHTEC FC4200-60 - Adjusting the Sensor by Printing a Cross Pattern

GRAPHTEC FC4200-60
107 pages
Print Icon
To Next Page IconTo Next Page
To Next Page IconTo Next Page
To Previous Page IconTo Previous Page
To Previous Page IconTo Previous Page
Loading...
6 27
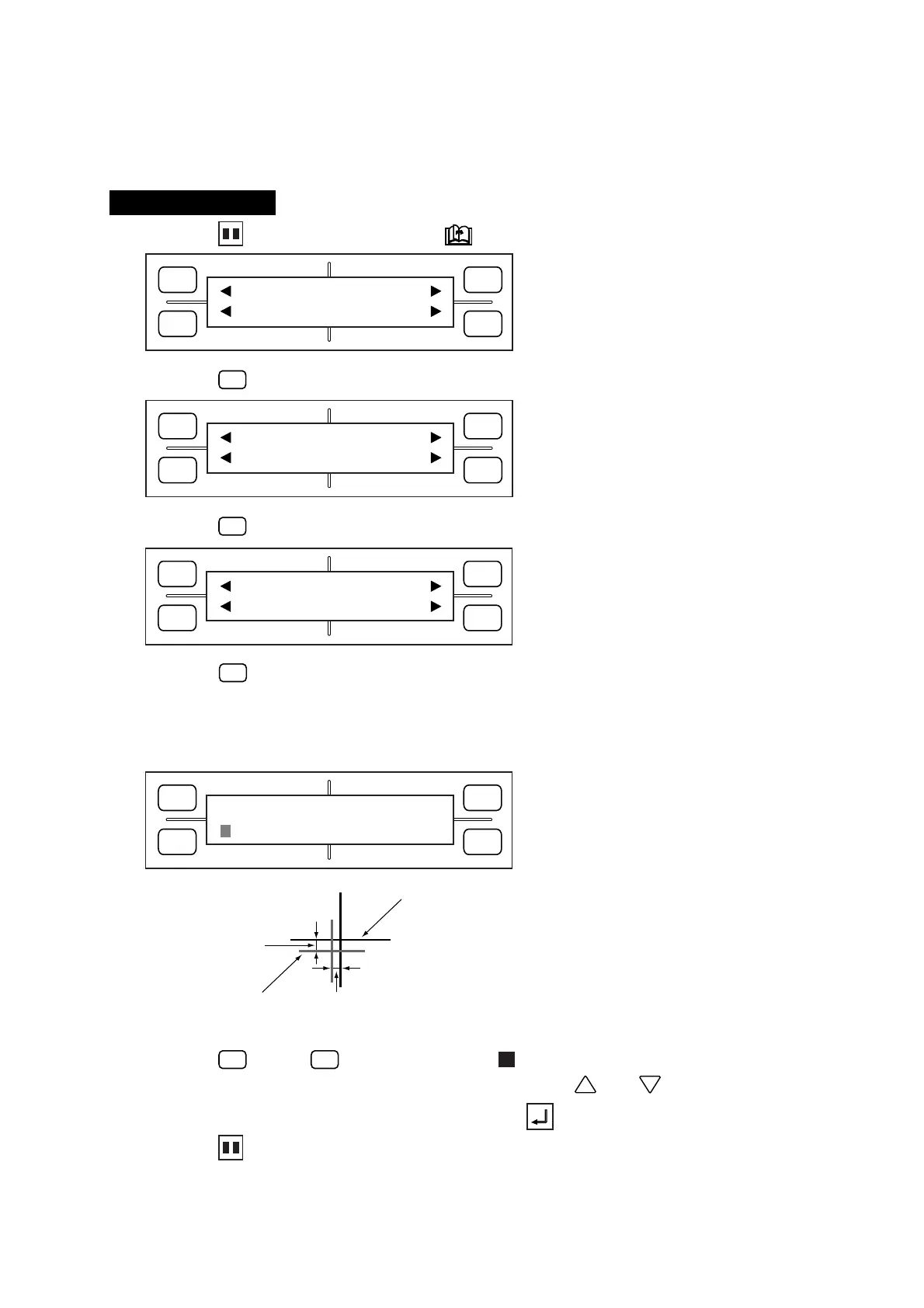
6.11.4 Adjusting the Sensor by Printing a Cross Pattern
The ADJ. SENS+ function plots a cross symbol, reads it, and plots another cross symbol for use in deter-
mining the corrective values you should input in order to adjust the registration mark sensors precision.
Setting Procedure
(1) Press the PAUSE key, then press the NEXT PAGE key until the menu below appears.
(2) Press the
F1
(MARK) key to display the menu below.
(3) Press the
F4
(EXPAND) key to display the menu below.
(4) When the
F4
(ADJ. SENS+) key is pressed, a cross symbol is plotted using the pen in Pen Holder 2
and then the sensor reads that cross symbol. Next, a cross symbol for use in adjustment is plotted
using the pen in Pen Holder 1.
(5) After the sensor reads the cross symbol plotted for use in adjustment, the menu below appears.
(6) Press the
F2
(X=) or
F4
(Y=) key to move the blinking cursor to the value to be corrected.
To change the corrective value for sensor adjustment, use the and POSITION keys.
(7) When the displayed settings are satisfactory, press the ENTER key to register your settings.
(8) Press the PAUSE key to return the plotter to READY status.
The 2nd cross plotted Value for X-axis
distance correction
Value for Y-axis
distance correction
Initially plotted cross
FORCE
SPEED
OFFSET
QUALITY
F1 F3
F4
F2
MARK PEN U/D
CLEAR SELECT PEN
FORCE
SPEED
OFFSET
QUALITY
F1 F3
F4
F2
MODE MARK SIZE
TYPE EXPAND
FORCE
SPEED
OFFSET
QUALITY
F1 F3
F4
F2
DIST ADJ. OFFSET
ADJ.SENS ADJ.SENS+
FORCE
SPEED
OFFSET
QUALITY
F1 F3
F4
F2
CURRENT VALUES
X= 0 Y= 0

Table of Contents

Other manuals for GRAPHTEC FC4200-60

Related product manuals