EasyManua.ls Logo

GRAPHTEC FC4200-60 - Specifying the STEP SIZE

GRAPHTEC FC4200-60
107 pages
Print Icon
To Next Page IconTo Next Page
To Next Page IconTo Next Page
To Previous Page IconTo Previous Page
To Previous Page IconTo Previous Page
Loading...
10 2
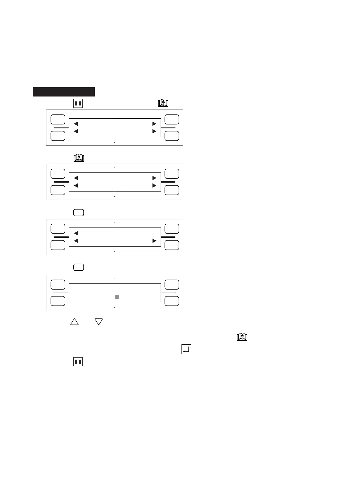
10.3 Specifying the STEP SIZE
The STEP SIZE function can only be specified when the COMMAND setting is GP-GL. It specifies the
minimum unit of distance travelled by the pen in step units. The STEP SIZE parameter can be set to 0.100,
0.050, 0.025, or 0.010 mm. Be sure to set the STEP SIZE parameter to the same setting at both your
software application and at the plotter.
Setting Procedure
(1) Press the PAUSE key, then press the NEXT PAGE key until the menu below appears.
(2) Press the NEXT PAGE key to display the menu below.
(3) Press the
F1
(INTERFACE) key to display the menu below.
(4) Press the
F1
(STEP SIZE) key to display the menu below.
(5) Use the and POSITION keys to set the STEP SIZE setting to either 0.010, 0.025, 0.050, or
0.100 mm.
If you do not wish to change the STEP SIZE setting at this time, press the NEXT PAGE key.
(6) When the displayed setting is satisfactory, press the ENTER key to register your setting.
(7) Press the PAUSE key to return the plotter to READY status.
FORCE
SPEED
OFFSET
QUALITY
F1 F3
F4
F2
MARK PEN U/D
CLEAR SELECT PEN
FORCE
SPEED
OFFSET
QUALITY
F1 F3
F4
F2
INTERFACE FUNCTION
FILM PEN WIDTH
FORCE
SPEED
OFFSET
QUALITY
F1 F3
F4
F2
STEP SIZE
RS-232C COMMAND
FORCE
SPEED
OFFSET
QUALITY
F1 F3
F4
F2
STEP SIZE
0.100
mm

Table of Contents

Other manuals for GRAPHTEC FC4200-60

Related product manuals