EasyManua.ls Logo

HP 300 - Page 106

HP 300
144 pages
Print Icon
To Next Page IconTo Next Page
To Next Page IconTo Next Page
To Previous Page IconTo Previous Page
To Previous Page IconTo Previous Page
Loading...
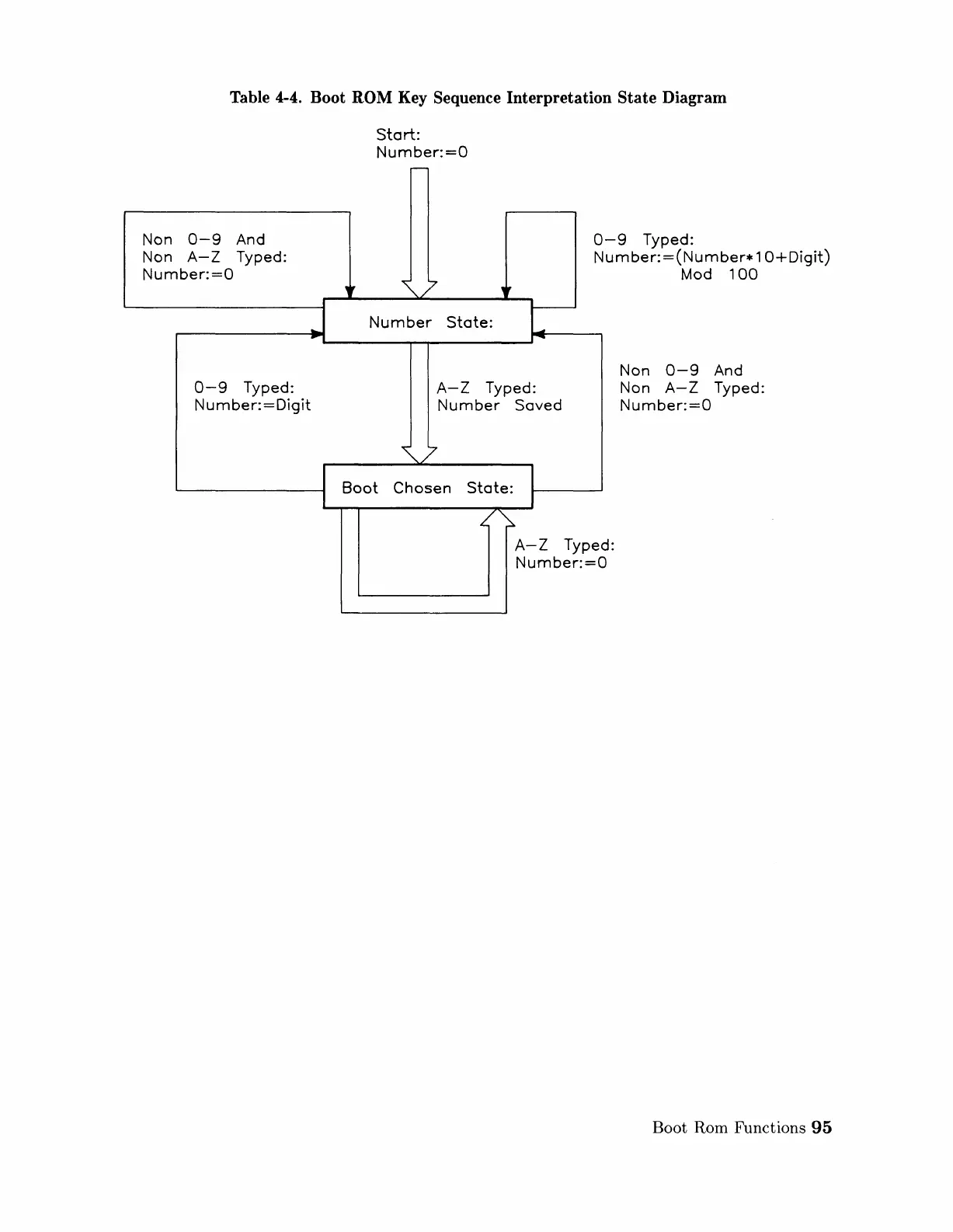
Table 4-4. Boot
ROM
Key Sequence Interpretation State Diagram
Non
0-9
And
Non
A-Z
Typed:
Number:=O
"
start:
Number:=O
-
"
0-9
Typed:
Number:=(Number*10+Digit)
Mod
100
Number
State:
r--
~-----...'"
L
-
L--
___
...,.-.,.-
____
.....
--
0-9
Typed:
A-Z
Typed:
Number:=Digit
Number
Saved
Boot
Chosen
State:
~~
A-Z
Typed:
Number:=O
Non
0-9
And
Non
A-Z
Typed:
Number:=O
Boot
Rom Functions
95
Artisan Technology Group - Quality Instrumentation ... Guaranteed | (888) 88-SOURCE | www.artisantg.com

Table of Contents

Other manuals for HP 300

Related product manuals