EasyManua.ls Logo

HP 300 - Page 72

HP 300
144 pages
Print Icon
To Next Page IconTo Next Page
To Next Page IconTo Next Page
To Previous Page IconTo Previous Page
To Previous Page IconTo Previous Page
Loading...
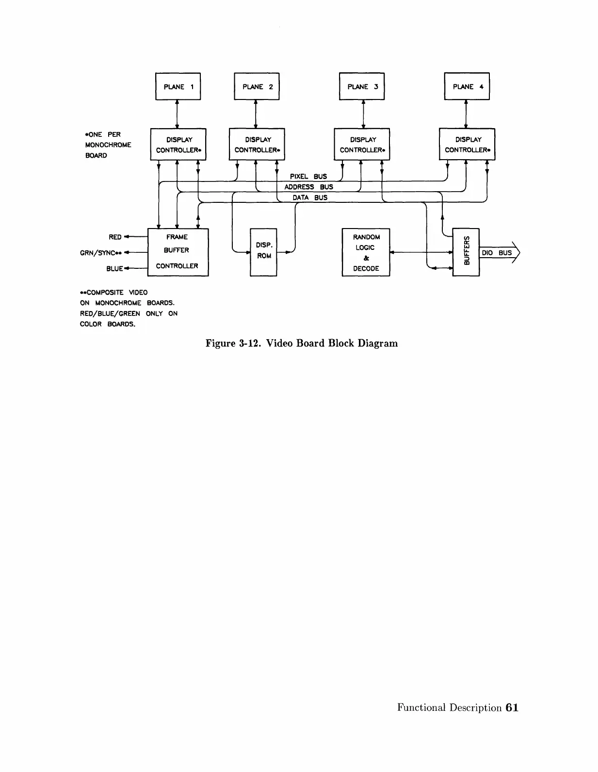
-ONE
PER
MONOCHROM
BOARD
E
RED
GRN/SYNC--
BLUE
+----
+----
+----
••
COMPOSITE VIDEO
1
PLANE
1 1
DISPLAY
CONTROLLER-
f
FRAME
BUFFER
CONTROLLER
ON
MONOCHROME BOARDS.
RED/BLUE/GREEN
ONLY
ON
COLOR BOARDS.
1
PLANE
21
1
PLANE
J 1
1
PLANE41
DISPLAY DISPLAY
DISPLAY
CONTROLLER- CONTROLLER-
CONTROLLER-
J
PIXEL BUS
J
ADDRESS BUS
DATA
BUS
r----
-
RANDOM
'--
(I)
DISP.
0:
\.
LOGIC
LU
'--.
........-'
.....
010
BUS
ROM
.....
&
:::l
/
-............-.
CD
DECODE
"""---
"""---
Figure
3-12. Video
Board
Block
Diagram
Functional Description
61
Artisan Technology Group - Quality Instrumentation ... Guaranteed | (888) 88-SOURCE | www.artisantg.com

Table of Contents

Other manuals for HP 300

Related product manuals