EasyManua.ls Logo

Hunter Douglas Applause - Install the Shade

Hunter Douglas Applause
40 pages
Print Icon
To Next Page IconTo Next Page
To Next Page IconTo Next Page
To Previous Page IconTo Previous Page
To Previous Page IconTo Previous Page
Loading...
INSTALLATION
8
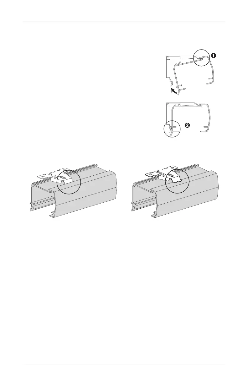
Install the Shade
Fit the front channel on top of the headrail onto the front
lip of the installation brackets.
Push the headrail up and back until it snaps into place.
Check to ensure the headrail is securely in the brackets.
Check that the bottom of the headrail is snapped into
the base of each bracket.
Check that the front lip of each bracket is in the front
channel of the headrail.
If any brackets are not installed correctly, release
the shade and reinstall. See “Removing the Shade, If
Necessary” on page13.
Good Bad
The back of the headrail
snaps into the bracket.
The front of the bracket
fits under the groove.
Headrail
Bracket
Snap
in Place

Related product manuals