EasyManua.ls Logo

Hy-Security 222 CF - Page 77

Default Icon
78 pages
Print Icon
To Next Page IconTo Next Page
To Next Page IconTo Next Page
To Previous Page IconTo Previous Page
To Previous Page IconTo Previous Page
Loading...
Installation and Maintenance Manual
71
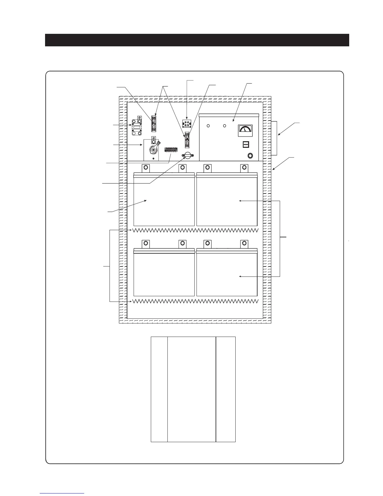
ON
OFF
DC AMPERES
CHARGER
COMPLETE
IN PROGRESS
ON
OFF
POWER
2-12
2-10
15A FUSE
2-13
BATTERY CHARGER
2-3
DISCONNECT SWITCH
2-4
2-9
TERMINAL STRIP
2-11
5A FUSE
2-5
2 BATTERY
ENCLOSURE
2-6
4 BATTERY
ENCLOSURE
2-8
4 BATTERY SYSTEM
6 VOLT BATTERIES
2-7
2 BATTERY SYSTEM
12 VOLT BATTERIES
2-14
VENT
2-15
OPTIONAL
THERMOSTAT
2-16
OPTIONAL
FOIL HEATER
item number qty
2-0 ESWCB 030 060 1 ea.
2-1 ESWCB 030 120 1 ea.
2-2 ESWCB 030 150 1 ea.
2-3 ESWDI 067 DCEX 1 ea.
2-4 ECOTS 1102 1 ea.
2-5 EENEN HO1 3030 1 ea.
2-6 EENEN HO1 4230 1 ea.
2-7 EDCBY 12B 090 2 ea.
2-8 EDCBY 06V 170 4 ea.
2-9 ECOTS 005 1 ea.
2-10 ESWFU 010 15 1 ea.
2-11 ESWFU 010 05 1 ea.
2-12 ESWFU 001 BLK 1 ea.
2-13 EDCBC 024 025 1 ea.
2-14 EDCFV 001 1 ea.
2-15 EACTH B10 021 1 ea.
2-16 EACHE 120 65W 2 ea.
2-0 222 DS
2-1 222 DX
2-2 444 DX
CIRCUIT BREAKER
COMPONENTS BATTERY PACK FOR DC OPERATORS
Parts Breakout - DC Power Supply

Table of Contents

Related product manuals