EasyManua.ls Logo

Hypertherm Command THC - Page 117

Hypertherm Command THC
220 pages
Print Icon
To Next Page IconTo Next Page
To Next Page IconTo Next Page
To Previous Page IconTo Previous Page
To Previous Page IconTo Previous Page
Loading...
MAX200 SETUP
CommandTHC for X-Y Table Instruction Manual 3f-5
6
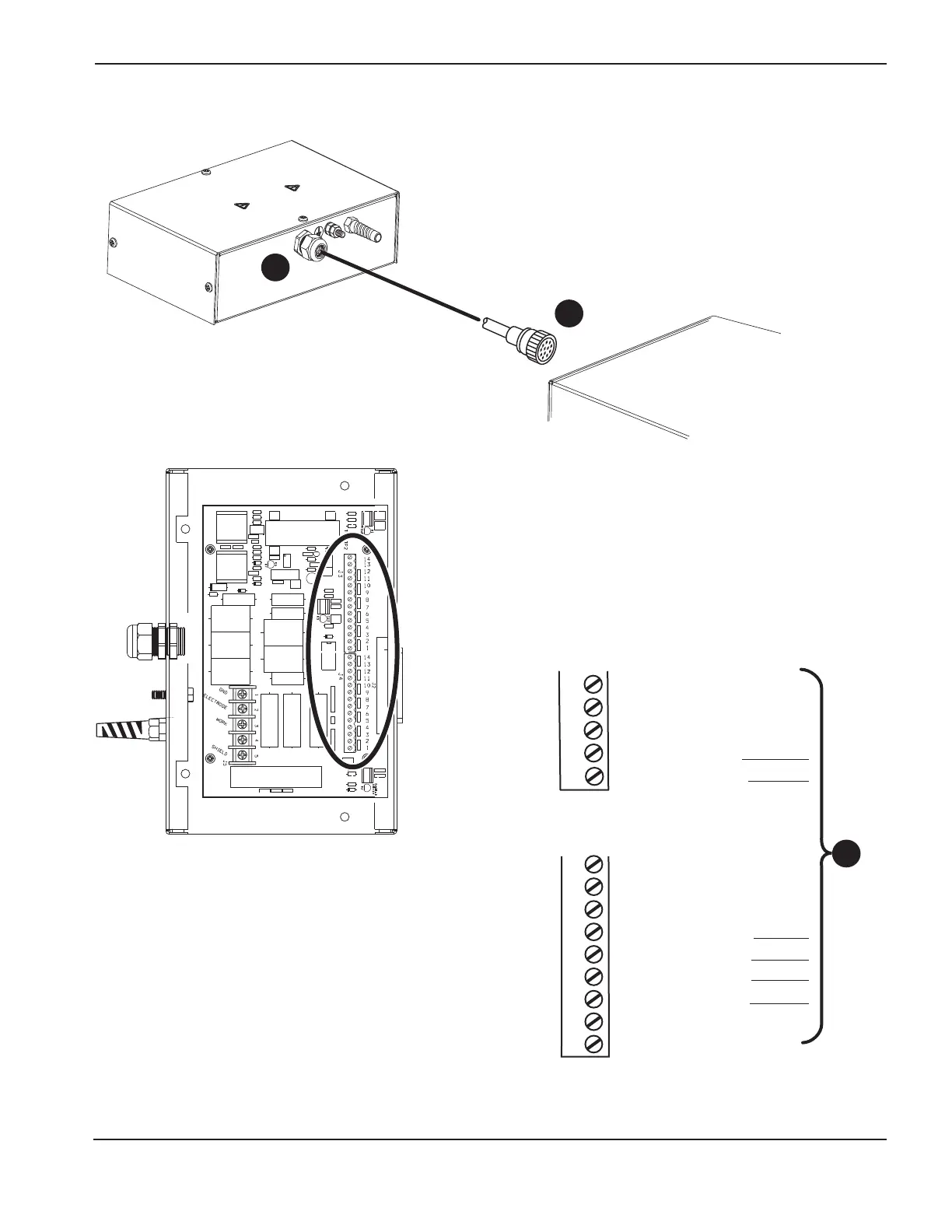
Figure 3f-2 MAX200 power supply interface cable connections
Pierce Complete-
Pierce Complete+
Hold Ignition-
Hold Ignition+
Plasma Start
Plasma Start
24V -
24V +
8
7
6
5
4
3
2
1
J4
A
B
THC.78
B
4
3
2
1
J3
Pilot Arc-
Pilot Arc+
Transfer IN-
Transfer IN+
Plasma interface
assembly
Power supply
Red wire
Black wire
Black wire
White wire
Black wire
Green wire

Table of Contents

Related product manuals