EasyManua.ls Logo

Icom IC-2200H - Page 69

Icom IC-2200H
108 pages
To Next Page IconTo Next Page
To Next Page IconTo Next Page
To Previous Page IconTo Previous Page
To Previous Page IconTo Previous Page
Loading...
56
11
PAGER/CODE SQUELCH
11
D Waiting for a call from a specic station
q Set the operating frequency.
w Push [BANK ] for 1 sec then rotate [DIAL] to turn
Pager mode ON.
100 MHz digit shows “P.”
e Wait for a call.
When receiving a call, the callers ID or group code appears as
shown at right.
r Push [PTT] to send an answer back call and display the
operating frequency.
t After confirming a connection, push [BANK ] for
1 sec. then rotate [DIAL] to select code squelch operation,
or repeat the previous key operation again to select non-
selective calling system.
z Set the operating frequency.
x Push [BANK/OPTION] for 1 sec. then
push [
YY
]/[
ZZ
] to turn Pager mode ON.
100 MHz digit shows “P.”
c Wait for a call.
When receiving a call, the callers ID or group
code appears as shown at right.
DO NOT push any digit keys while code chan-
nels C0 to C6 are displayed, or code channel
contents will be changed.
v Push [PTT] to send an answer back call
and display the operating frequency.
b After confirming a connection, push
[BANK/OPTION] for 1 sec. to select code
squelch operation, or repeat the previous
key operation again to select non-selective
calling system.
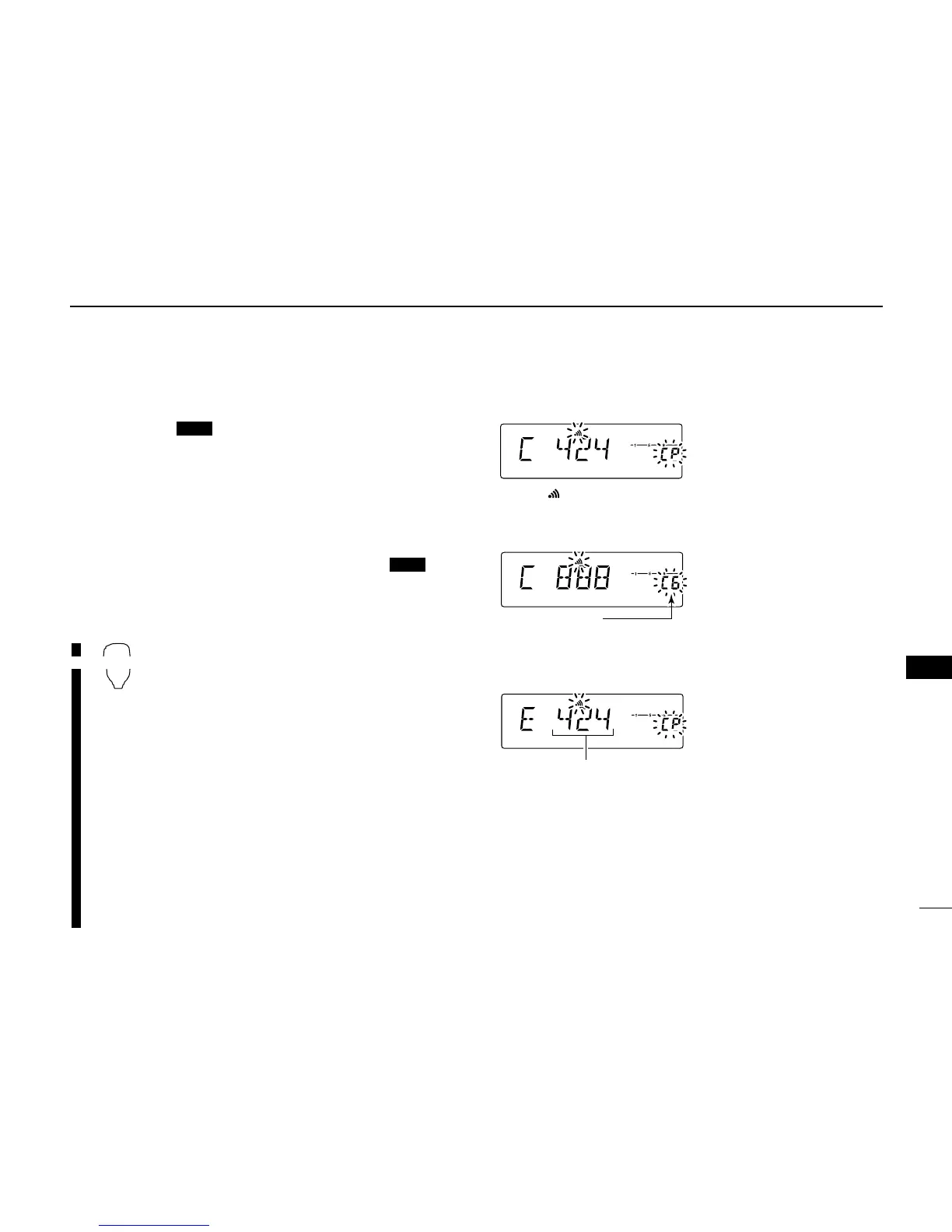
PERSONAL CALLS
This display appears when
you are called with your ID
code and the calling station’s
ID code is 424.
GROUP CALLS
This display appears when
you are called with the group
code, 888, and 888 has been
programmed into code chan-
nel C6.
ERROR INFORMATION
When the transceiver re-
ceives an incomplete signal,
“E” and previously received
code appear.
LOCK
S
E
T
ANM
MONI
DUP
LOW
T
-
SCAN
TONE
PRIO
M/CALL
SCAN
V/MHz
DIGITAL
PRIO
AO
BUSY
MUTE
NAR
MID
LOW
Previously received code.
LOCK
S
E
T
ANM
MONI
DUP
LOW
T
-
SCAN
TONE
PRIO
M/CALL
SCAN
V/MHz
DIGITAL
PRIO
AO
BUSY
MUTE
NAR
MID
LOW
Code channel
LOCK
S
E
T
ANM
MONI
DUP
LOW
T
-
SCAN
TONE
PRIO
M/CALL
SCAN
V/MHz
DIGITAL
PRIO
AO
BUSY
MUTE
NAR
MID
LOW
CP and blink.
BANK/OPTION
OPT
OPT

Table of Contents

Other manuals for Icom IC-2200H

Related product manuals