EasyManua.ls Logo

Icom IC-2200H - I GPS Operation

Icom IC-2200H
108 pages
To Next Page IconTo Next Page
To Next Page IconTo Next Page
To Previous Page IconTo Previous Page
To Previous Page IconTo Previous Page
Loading...
72
12
DIGITAL MODE OPERATION
12
GPS operation
The IC-2200H can indicate the current position (Latitude and Lon-
gitude) when a GPS receiver (compatible with an RS-232C out-
put/NMEA format/4800 bps) is connected to [DATA] jack. And
also can transmit the position data and message to other stations.
DD
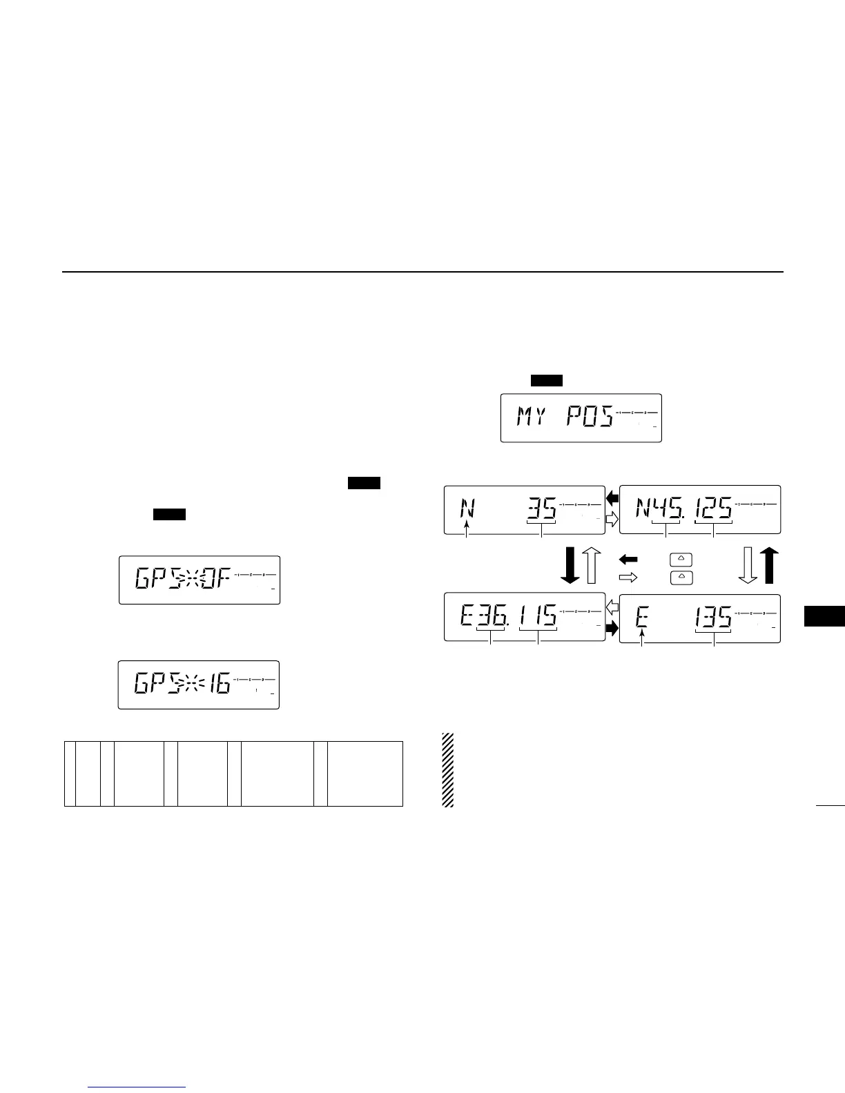
Position indication
q While connecting a GPS receiver, push [BANK ] for
1 sec. to enter the option set mode.
w Push [BANK ] or [V/MHz] several times to select the
GPS setting.
“GPS” appears.
e Rotate [DIAL] to set the suitable sentence formatter for the
connecting GPS receiver.
For your position indication is necessary to select “GGA” or “RMC.”
Sentence formatters
rPush [BANK ] twice to select the position indication.
tPush [MONI] (or [SET]) to enter the position indication.
Latitude and longitude date appear in order as below.
yAfter checking the current position, push any key other
than indicated function keys to return to normal operating
mode.
IMPORTANT: When set the sentence formatter at step e
for connecting GPS receiver, and already programmed your
call sign, GPS automatic transmission is activate every 3
minutes. The automatic transmission can be changed inter-
val time or deactivated, if desired. (see next page)
LOCK
S
E
T
ANM
MONI
DUP
LOW
T
-
SCAN
TONE
PRIO
M/CALL
SCAN
V/MHz
DIGITAL
PRIO
AO
BUSY
MUTE
NAR
MID
LOW
LOCK
S
E
T
ANM
MONI
DUP
LOW
T
-
SCAN
TONE
PRIO
M/CALL
SCAN
V/MHz
DIGITAL
PRIO
AO
BUSY
MUTE
NAR
MID
LOW
LOCK
S
E
T
ANM
MONI
DUP
LOW
T
-
SCAN
TONE
PRIO
M/CALL
SCAN
V/MHz
DIGITAL
PRIO
AO
BUSY
MUTE
NAR
MID
LOW
LOCK
S
E
T
ANM
MONI
DUP
LOW
T
-
SCAN
TONE
PRIO
M/CALL
SCAN
V/MHz
DIGITAL
PRIO
AO
BUSY
MUTE
NAR
MID
LOW
DegreesNorth or South
Minutes Seconds
DegreesEast or West
Minutes Seconds
LOCK
SET
( )
Push
MONI
( )
Push
LOCK
S
E
T
ANM
MONI
DUP
LOW
T
-
SCAN
TONE
PRIO
M/CALL
SCAN
V/MHz
DIGITAL
PRIO
AO
BUSY
MUTE
NAR
MID
LOW
OPT
1
2
3
4
5
GLL
GGA
RMC
GSA
VTG
6
7
8
9
10
GLL, GGA
GLL, RMC
GLL, GSA
GLL, VTG
GGA, RMC
11
12
13
14
15
GGA, GSA
GGA, VTG
RMC, GSA
RMC, VTG
GSA, VTG
16
17
18
19
20
GLL, GGA, RMC
GLL, GGA, GSA
GLL, GGA, VTG
GLL, RMC, GSA
GLL, RMC, VTG
21
22
23
24
25
GLL, GSA, VTG
GGA, RMC, GSA
GGA, RMC, VTG
GGA, GSA, VTG
RMC, GSA, VTG
LOCK
S
E
T
ANM
MONI
DUP
LOW
T
-
SCAN
TONE
PRIO
M/CALL
SCAN
V/MHz
DIGITAL
PRIO
AO
BUSY
MUTE
NAR
MID
LOW
LOCK
S
E
T
ANM
MONI
DUP
LOW
T
-
SCAN
TONE
PRIO
M/CALL
SCAN
V/MHz
DIGITAL
PRIO
AO
BUSY
MUTE
NAR
MID
LOW
OPT
OPT

Table of Contents

Other manuals for Icom IC-2200H

Related product manuals