EasyManua.ls Logo

IDEC MICROSmart FC6A Series - Page 129

IDEC MICROSmart FC6A Series
662 pages
Print Icon
To Next Page IconTo Next Page
To Next Page IconTo Next Page
To Previous Page IconTo Previous Page
To Previous Page IconTo Previous Page
Loading...
FC6A S
ERIES
MICROS
MART
U
SER
S
M
ANUAL
FC9Y-B1722 2-93
2: P
RODUCT
S
PECIFICATIONS
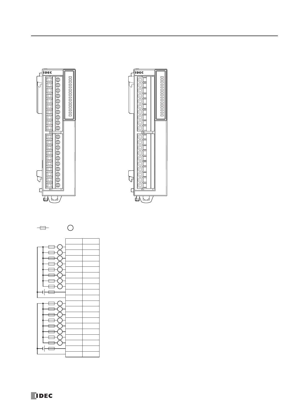
FC6A-T16P1, FC6A-T16P4
The two COM(+) lines are each connected in the module.
The two -V lines are each connected in the module.
For wiring precautions, see "Input/Output Wiring" on page 3-18.
Insert a fuse that corresponds to the load.
Screw fastened type: FC6A-T16P1 Push-in type: FC6A-T16P4
Applicable connector: FC6A-PMTC10PN02 Applicable connector: FC6A-PMSC10PN02
0
1
2
3
4
5
6
7
10
11
12
13
14
15
16
17
Tr.OU T
FC6A-T16P1
-V
COM(+)
17 16 15 14 13 12 11 10 -V
COM(+)
76543210
0
1
2
3
4
5
6
7
10
11
12
13
14
15
16
17
Tr.OU T
FC6A-T16P4
-V
COM(+)
17 16 15 14 13 12 11 10 -V
COM(+)
76543210
: Fuse : Load
L
1
0 Q0
Q1
Q2
Q3
COM(+)
Q4
Q5
Q6
2
3
COM(+)
-V
-V
4
5
6
7
Q7
11
10 Q10
Q11
Q12
Q13
COM(+)
Q14
Q15
Q16
12
13
COM(+)
-V
-V
14
15
16
17
Q17
Terminal No.
I/O
L
L
L
L
L
L
L
L
-
+
L
L
L
L
L
L
L
L
-
+
24V DC
24V DC

Table of Contents

Other manuals for IDEC MICROSmart FC6A Series

Related product manuals