EasyManua.ls Logo

Intergas Xtend-HB-CUSP05 - Connecting a Secondary Pump

Intergas Xtend-HB-CUSP05
88 pages
Print Icon
To Next Page IconTo Next Page
To Next Page IconTo Next Page
To Previous Page IconTo Previous Page
To Previous Page IconTo Previous Page
Loading...
51
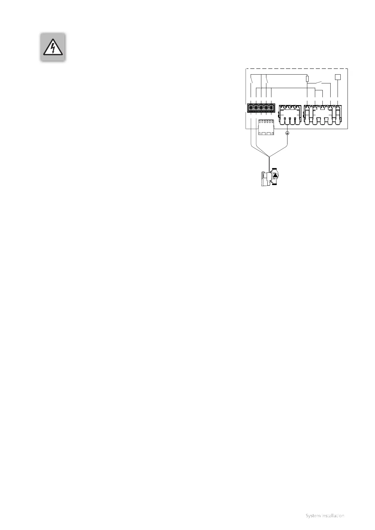
Connector X13 is an additional 230V~ normally open (NO)-
contact and can be used for connecting a secondary pump,
valve etc.
Use AUX1 to connect a secundary pump:
Using the included 5-pole green connector, wire the pump
connections to screw terminals 4 and 5 and then push
this into position X13 of the indoor unit, as shown in the
adjacent illustration.
Earth to terminal X0.
Set Parameter P068 to "10".
Use AUX2 as an additional (NO)-contact:
Using the included 5-pole green connector, wire the pump
connections to screw terminals 1 and 2 and then push this
into position X13
Earth to terminal X0.
Set Parameter P069 to the desired value.
See §11.6 Parameters for a full value list for P068 and P069.
AUX1 AUX2 Fuse
CPU
X0
X1
NL
3
L
2
L
F
N NL L
1
N 3
4
5
3 2 1
X14
X13
8.8.10 Connecting a secondary pump
WARNING
A permanent mains voltage is present at
pin 3 of connector X13

Table of Contents