EasyManua.ls Logo

Kappa Flight Eye FE320 - Parts Designation; Front of the Camera Sensor Unit (CSU); Rear of the Camera Sensor Unit (CSU); Figure 4-6 Example Camera Sensor Unit (CSU)

Default Icon
45 pages
Print Icon
To Next Page IconTo Next Page
To Next Page IconTo Next Page
To Previous Page IconTo Previous Page
To Previous Page IconTo Previous Page
Loading...
17
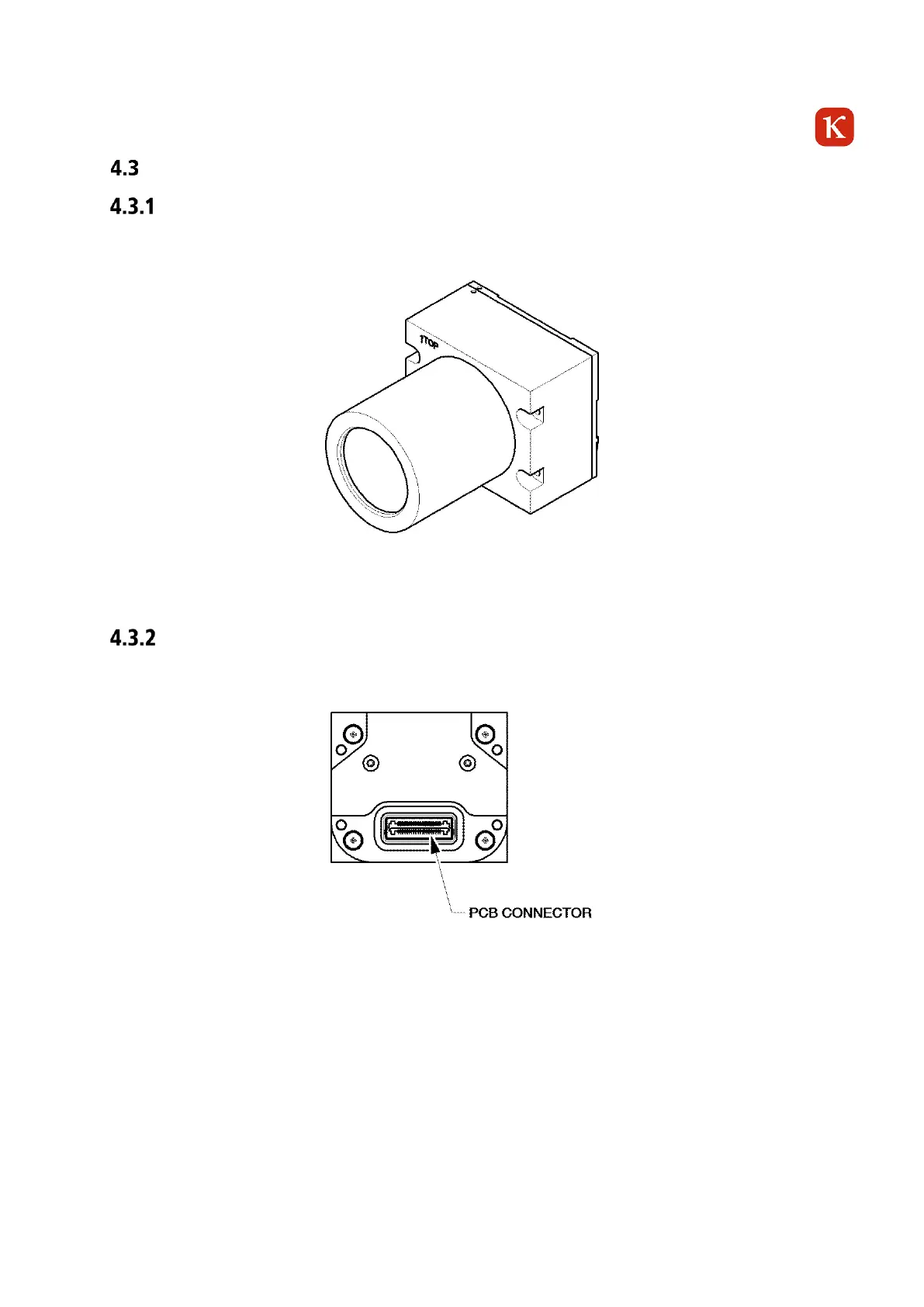
Parts Designation
Front of the Camera Sensor Unit (CSU)
The CSU models are similar in design. For an example see Figure 4-6. The sensor is located at the front.
Figure 4-6 Example Camera Sensor Unit (CSU)
Rear of the Camera Sensor Unit (CSU)
The electrical connections are located on the back of the CSU.
Figure 4-7 Example Camera Sensor Unit - Rear View

Table of Contents