EasyManua.ls Logo

Keysight Technologies N5182B MXG - Page 212

Keysight Technologies N5182B MXG
502 pages
To Next Page IconTo Next Page
To Next Page IconTo Next Page
To Previous Page IconTo Previous Page
To Previous Page IconTo Previous Page
Loading...
194 Keysight EXG and MXG X-Series Signal Generators User’s Guide
Basic Digital Operation for N5172B/82B with Options 653/655/656/657
Clipping a Waveform
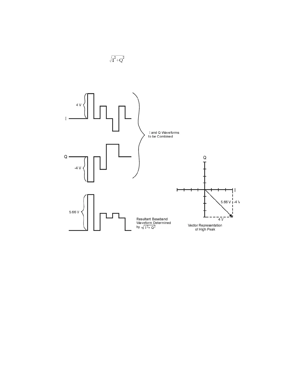
Combining the I and Q Waveforms
When the I and Q waveforms combine in the I/Q modulator to create an RF waveform, the
magnitude of the RF envelope is , where the squaring of I and Q always results in a positive
value.
As shown in the following figure, simultaneous positive and negative peaks in the I and Q
waveforms do not cancel each other, but combine to create an even greater peak.

Table of Contents

Other manuals for Keysight Technologies N5182B MXG

Related product manuals