EasyManua.ls Logo

Keysight 3458A - Page 115

Keysight 3458A
137 pages
Print Icon
To Next Page IconTo Next Page
To Next Page IconTo Next Page
To Previous Page IconTo Previous Page
To Previous Page IconTo Previous Page
Loading...
Assembly Level Troubleshooting 4
Keysight 3458A Assembly-Level Repair Manual 115
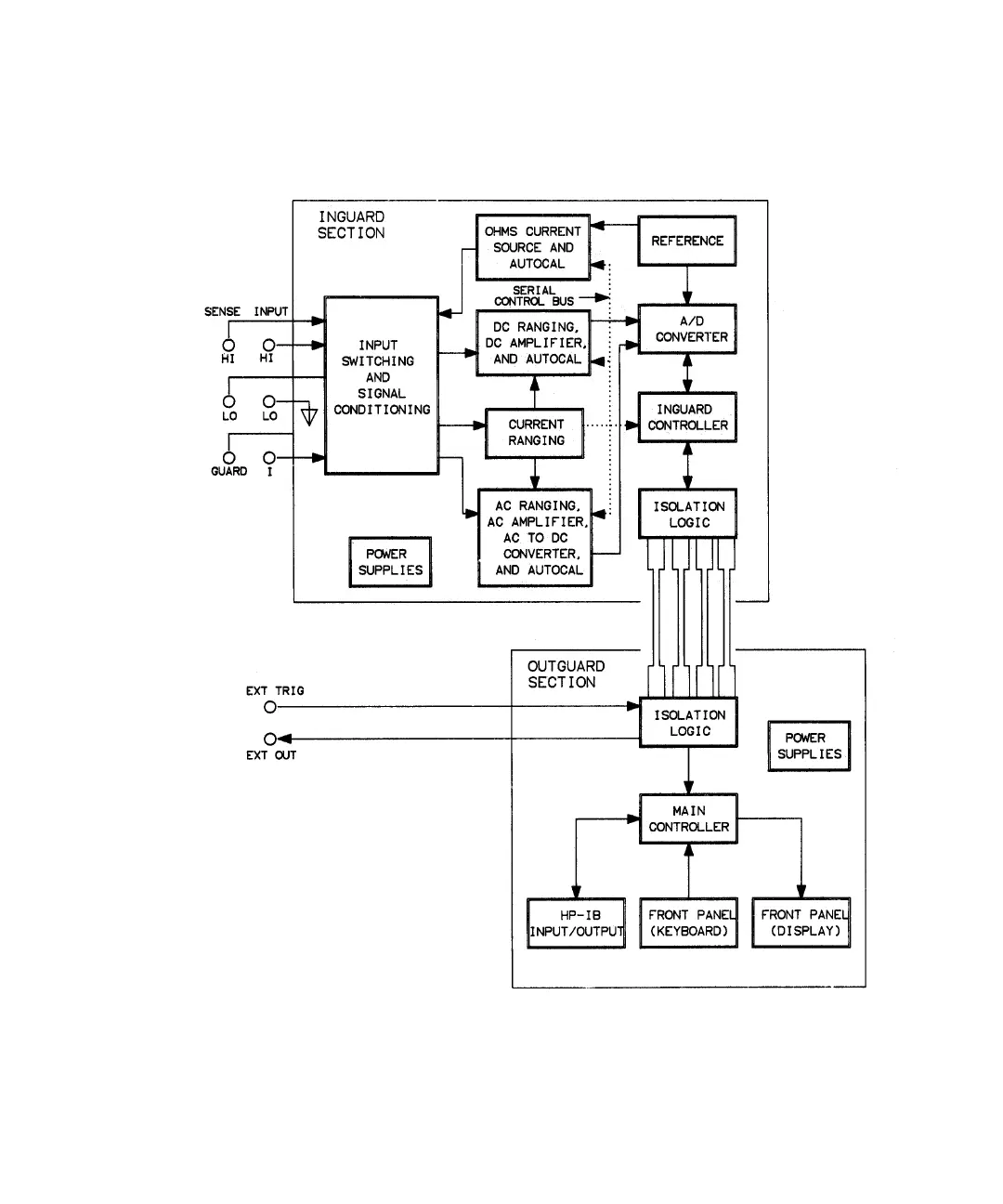
Figure 4-1 3458A simplified block diagram

Table of Contents

Other manuals for Keysight 3458A

Related product manuals