EasyManua.ls Logo

Keysight N9010B - Page 220

Keysight N9010B
598 pages
Print Icon
To Next Page IconTo Next Page
To Next Page IconTo Next Page
To Previous Page IconTo Previous Page
To Previous Page IconTo Previous Page
Loading...
220 Keysight N9010B EXA Signal Analyzer Service Guide
RF Section Troubleshooting (Millimeter-Wave Analyzers)
Troubleshooting
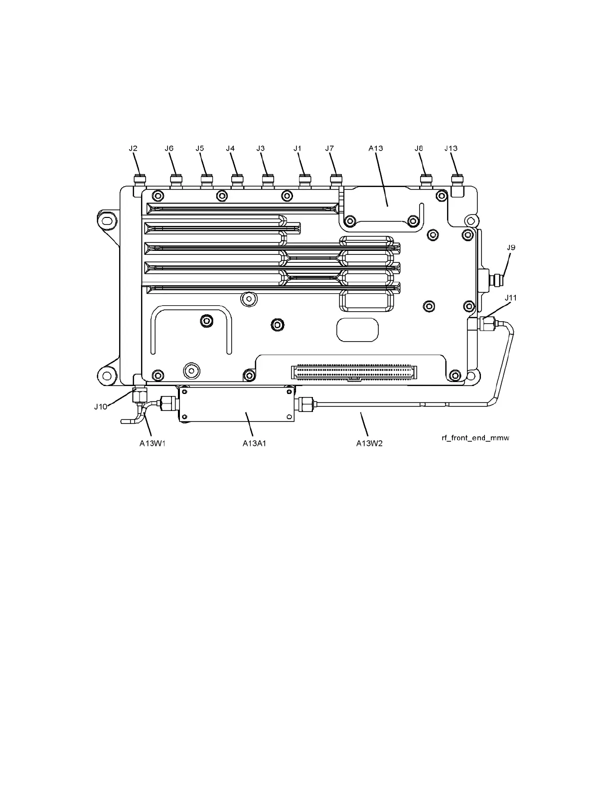
Disconnect cable W36 at A13J7, 322.5 MHz output on the Front End
Assembly. See Figure 5-7. Select Span, 0 Hz.
Figure 5-7 A13A1J7 Location (Options 532, 544)

Table of Contents

Other manuals for Keysight N9010B

Related product manuals