EasyManua.ls Logo

Knoll Antenna Workspaces - Page 123

Knoll Antenna Workspaces
148 pages
Print Icon
To Next Page IconTo Next Page
To Next Page IconTo Next Page
To Previous Page IconTo Previous Page
To Previous Page IconTo Previous Page
Loading...
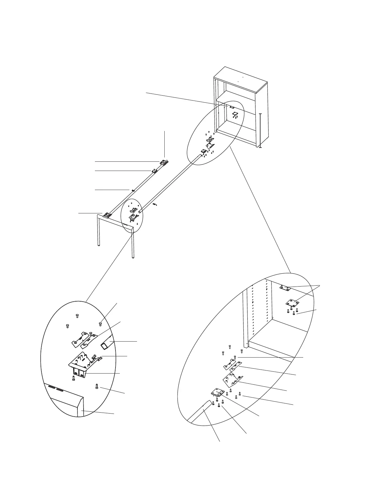
Desk Supported by 28" High Template Storage
Step 12
Step 4
Steps 5 & 7
Steps 6 & 11
Step 9
Steps 2, 3 & 10
28"
Exploded Desk Supported by 28"-High
Template Storage Assembly Detail
Exploded Cradle/Rail/End Leg Connection Detail
Exploded Shelf Connection Bracketry Detail
Rail
#14 x 1" FH Wood Screw (I)
#14 x 1" FH Wood Screw (I)
W-Bracket (F)
Rail End Support Cradle (B)
Cradle Clamp Bracket (C)
¼-20 x
5
/
8
"
Machine Screw (H)
Flat Bracket (J)
#14 x 1" FH
Wood Screw (I)
¼-20 x
5
/
8
"
Machine Screw (H)
Cradle Clamp
Bracket (C)
Rail
¼-20 x 1" Machine
Screw (G)
#14 x 1" FH Wood
Screw (I)
Table Desk Cradle (A)
Table Desk End Leg

Table of Contents