EasyManua.ls Logo

Konami Dance Dance Revolution - Page 49

Konami Dance Dance Revolution
66 pages
Print Icon
To Next Page IconTo Next Page
To Next Page IconTo Next Page
To Previous Page IconTo Previous Page
To Previous Page IconTo Previous Page
Loading...
47
8 Annex
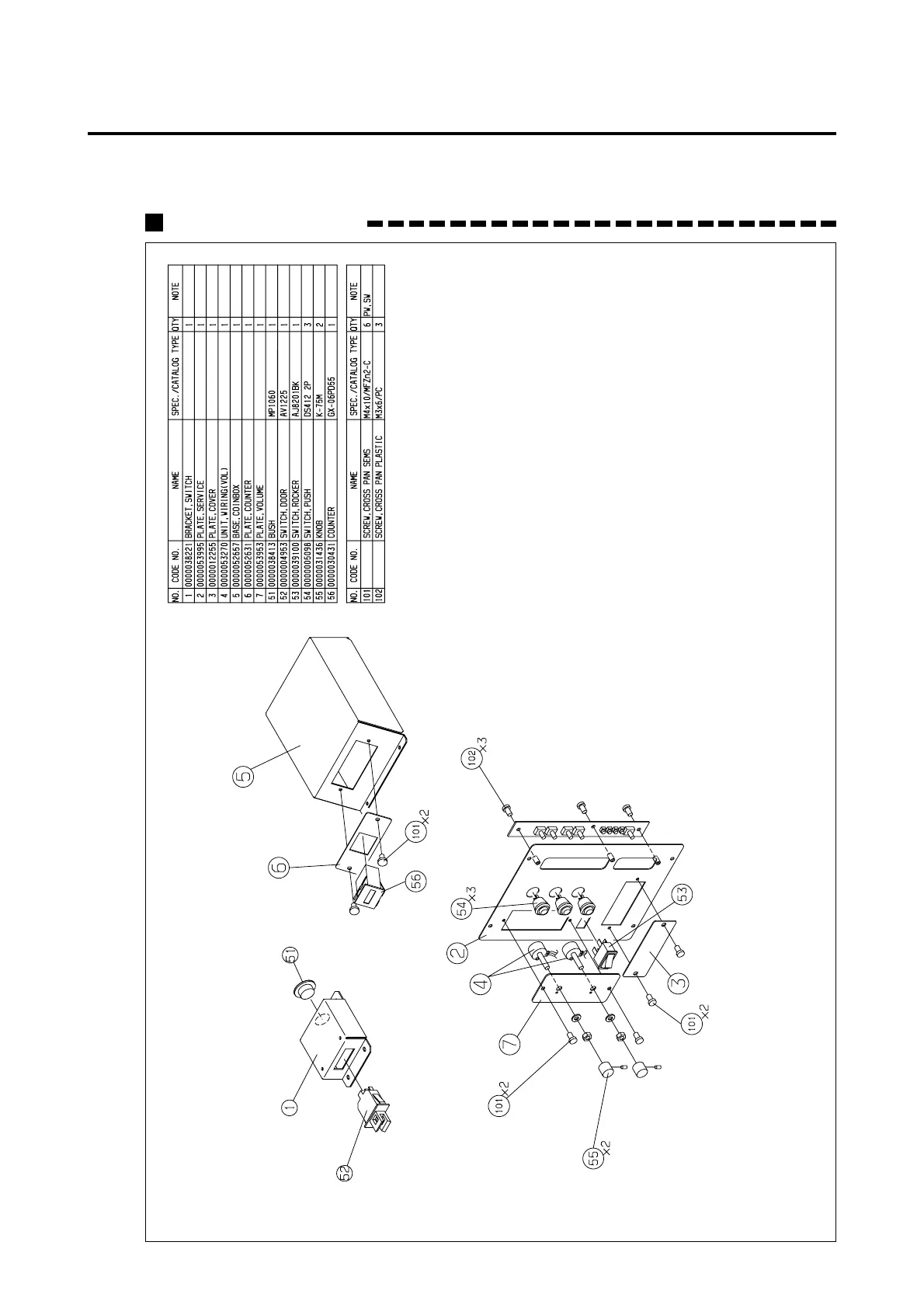
FIG.6 ASS'Y, SERVICE

Related product manuals